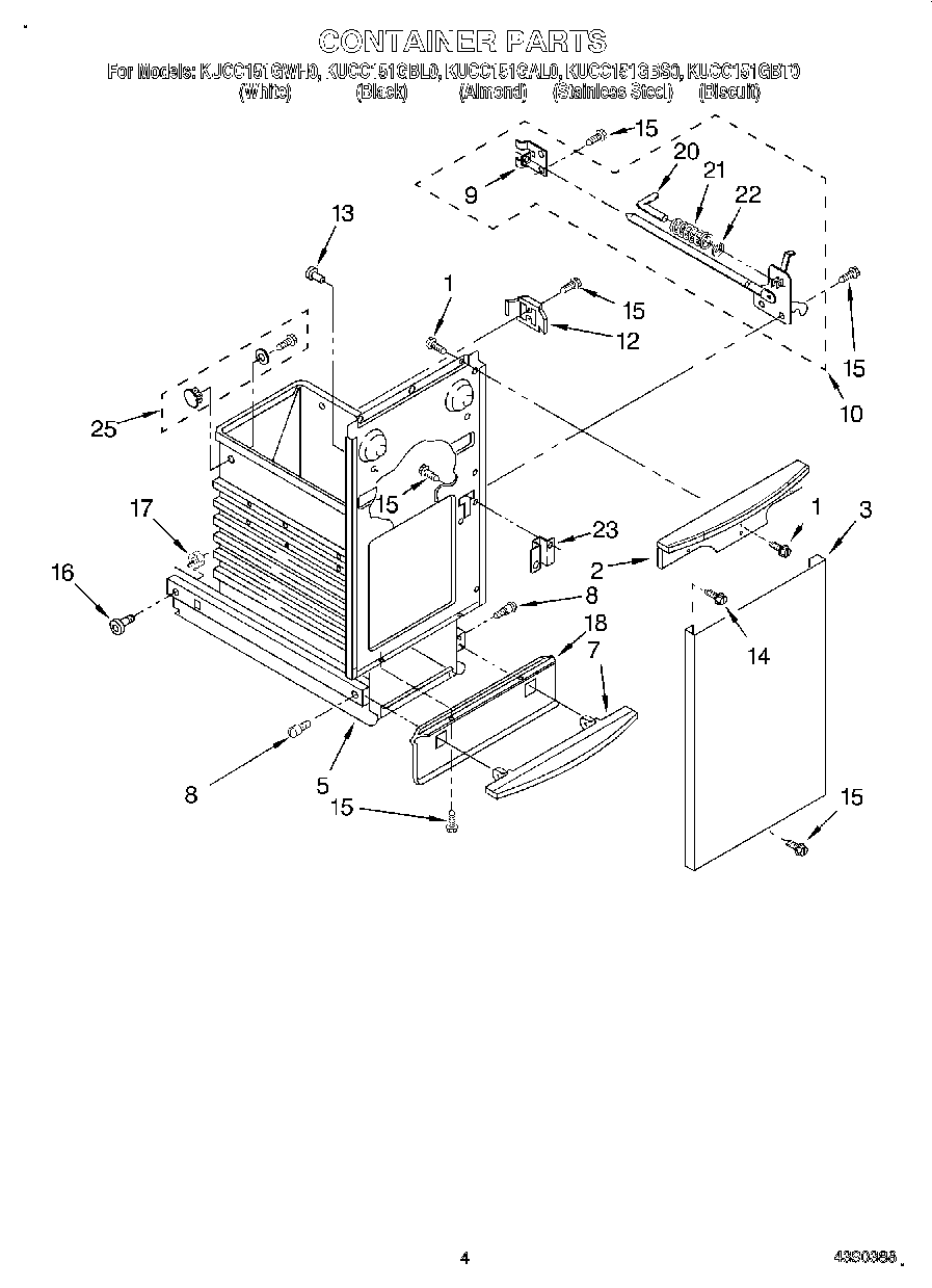
KUCC151GWH0 04 – CONTAINER