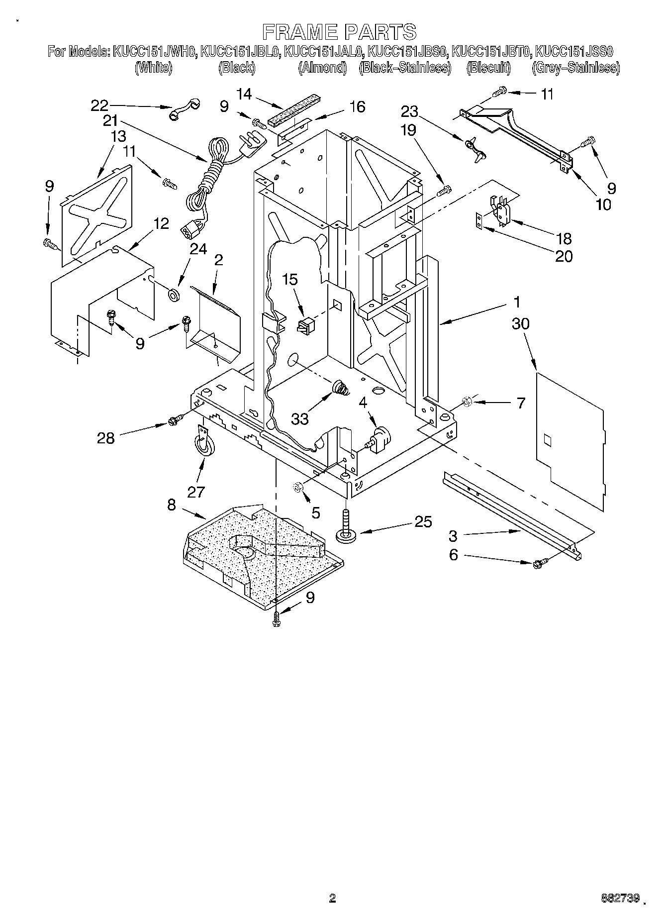
KUCC151JBT0 02 – FRAME