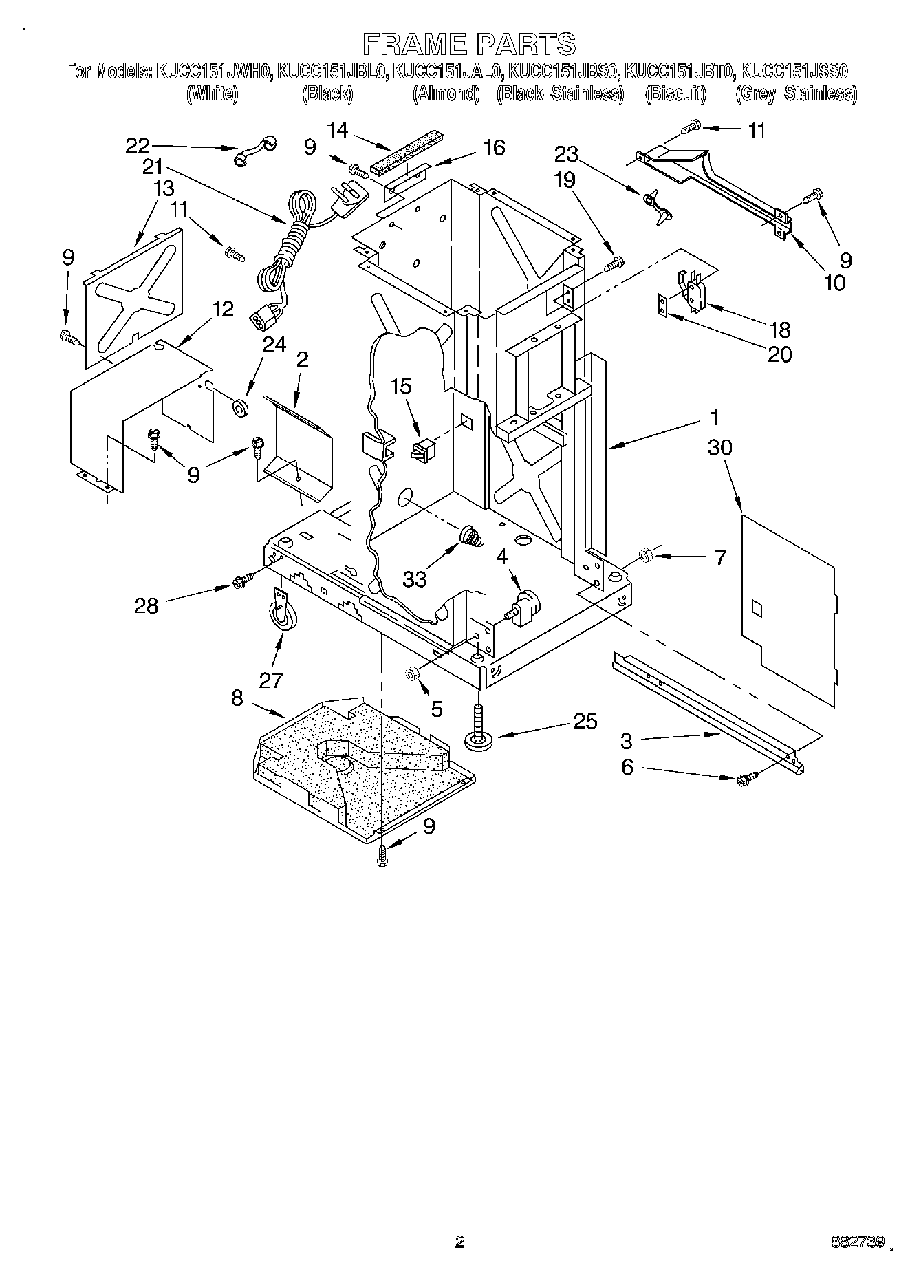
KUCC151JSS0 02 – FRAME