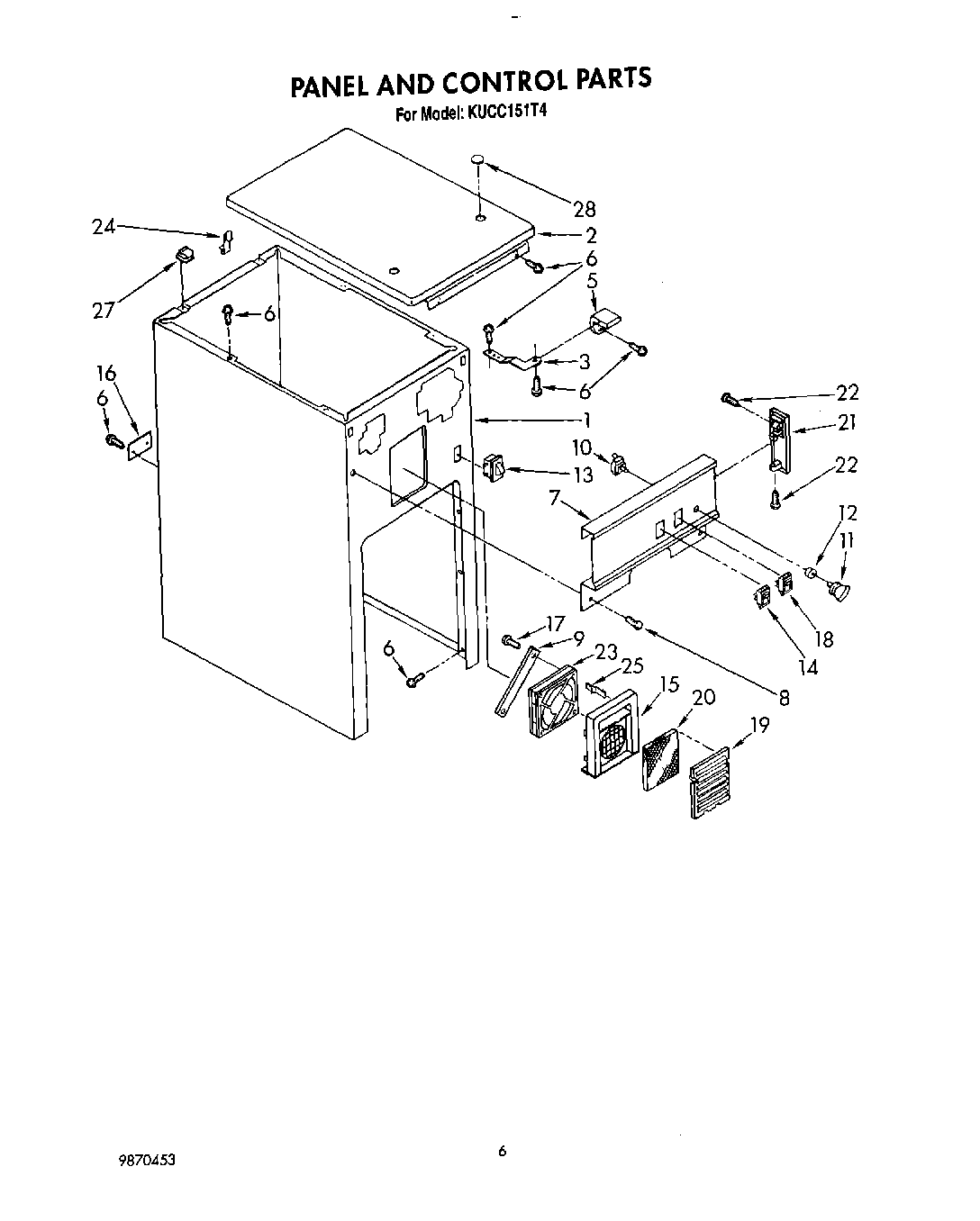
KUCC151T4 06 – PANEL AND CONTROLadmin2025-04-26T12:42:21+00:00KUCC151T4 06 – PANEL AND CONTROL
Products
| Position | Product |
|---|
| 1 | Cabinet |
| 2 | Cover, Top |
| 3 | W11729437 Whirlpool Retaining Bracket |
| 5 | WP780239 Whirlpool Compactor Bracket Retainer |
| 6 | WP489069 Whirlpool Compactor Screw |
| 7 | Escutcheon, Control |
| 8 | Screw, 6-20 x 3/8 (2) |
| 9 | 4152703 Whirlpool Fan Strap |
| 10 | 675382 Whirlpool Trash Compactor On Off Start Top Limit Switch |
| 11 | 776594 Whirlpool Power Switch Knob |
| 12 | WP777383 Whirlpool Compactor Nut |
| 13 | WP4387911 Whirlpool Refrigerator Switch |
| 14 | WP4314961 Whirlpool Lite Switch |
| 15 | 9871893 Whirlpool Compactor Fan Filter |
| 16 | Plate, Power Cord |
| 17 | WP3351614 Whirlpool Screw |
| 19 | Cover, Air Freshener (Black) |
| 20 | WP4151750 Whirlpool Charcoal Air Filter |
| 21 | End Cap, Escutcheon (R.H.) |
| 21 | End Cap, Escutcheon (L.H.) |
| 25 | 4151897 Whirlpool Compactor Clip |
| 26 | Bracket, Protector |
| 27 | Clip, Top Mount (2) |
| 28 | Plug, Hole |