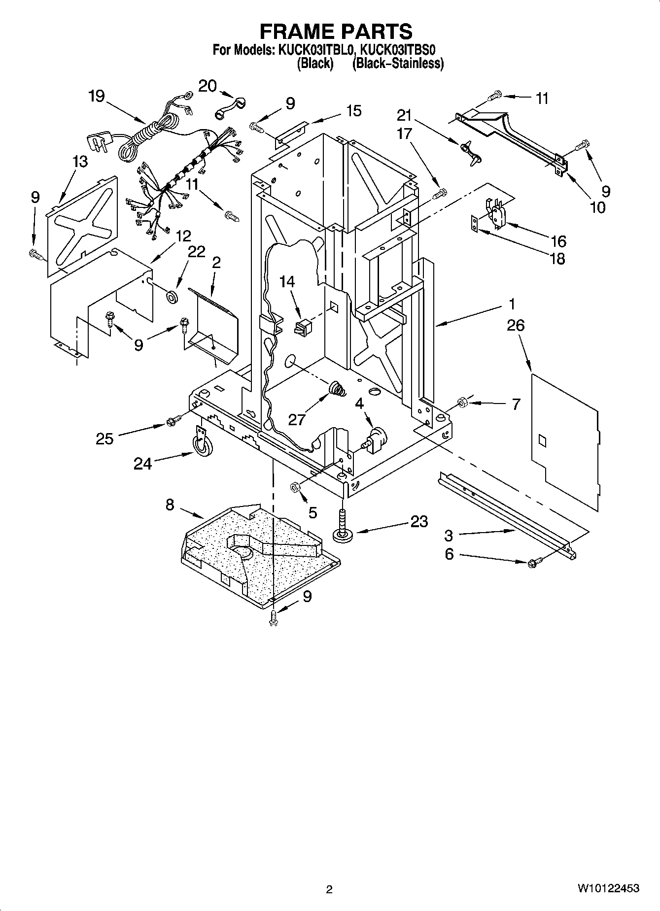
KUCK03ITBS0 02 – FRAME PARTS