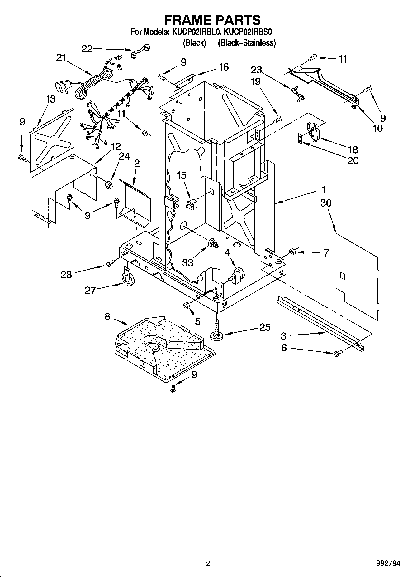
KUCP02IRBL0 02 – FRAME PARTSadmin2025-04-26T12:44:35+00:00KUCP02IRBL0 02 – FRAME PARTS ProductsPositionProduct1Frame (Not a Serviceable Part)29870867 Whirlpool Shield3WP9870975 Whirlpool Compactor Slide3SLIDE4882688 Whirlpool Compactor Bearing5WP776356 Whirlpool Compactor Nut6WP486754 Whirlpool Compactor Screw7NUT8WP780437 Whirlpool Compactor Bottom Pan9WP489478 Whirlpool Refrigerator Screw104149659 Whirlpool Shield Assembly11WP488234 Whirlpool Air Conditioner Screw12780434 Whirlpool Motor Cover13Plate, Motor Cover15WP4387911 Whirlpool Refrigerator Switch16Angle, Top Bracket18WP777811 Whirlpool Compactor Directional Switch19777849 Whirlpool Compactor Screw20Plate, Nut219872117 Whirlpool Compactor Wire Harness22Bushing, Cord23Clamp, Wire24Grommet, Motor Cover25WPW10001130 Whirlpool Leveling Leg27W11023674 Whirlpool Compactor Leveling Wheel28WP3351614 Whirlpool Screw30WP9870444 Whirlpool Compactor Inner Panel33WP777180 Whirlpool Compactor Spring