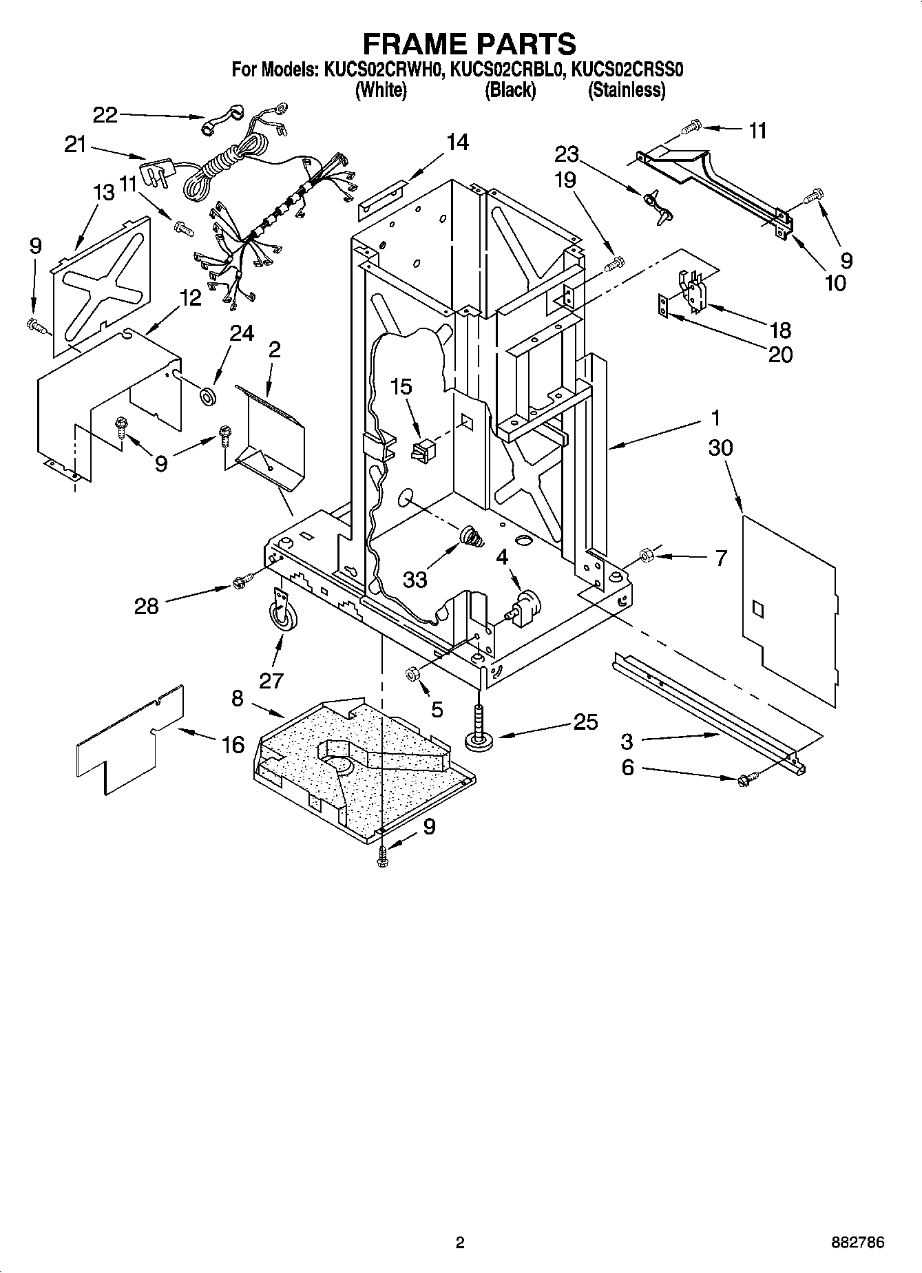
KUCS02CRBL0 02 – FRAME PARTS