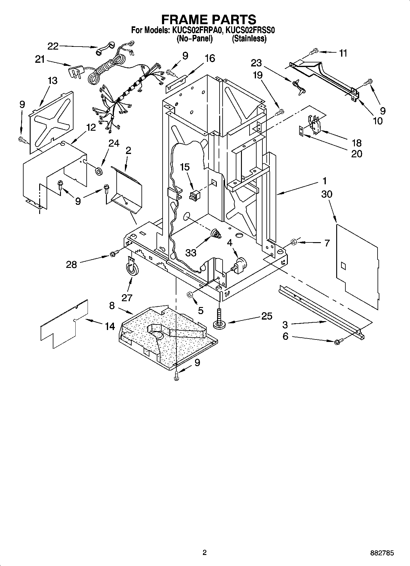
KUCS02FRSS0 02 – FRAME PARTS