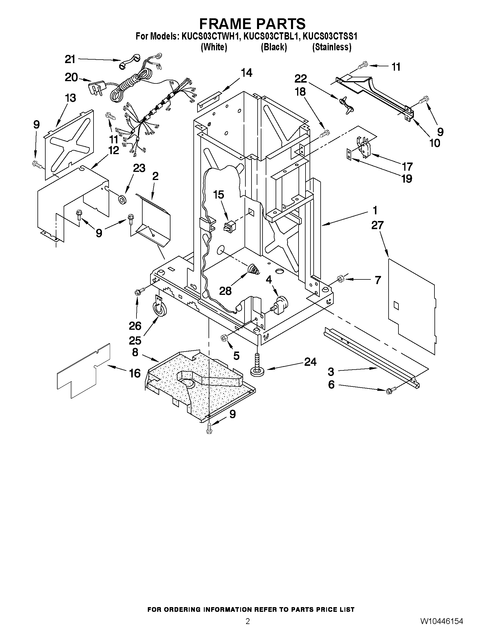
KUCS03CTSS1 02 – FRAME PARTSadmin2025-04-26T12:42:36+00:00KUCS03CTSS1 02 – FRAME PARTS ProductsPositionProduct1CABINET (NOT A SERVICEABLE PART)29870867 Whirlpool Shield3SLIDE3WP9870975 Whirlpool Compactor Slide4882688 Whirlpool Compactor Bearing5WP776356 Whirlpool Compactor Nut6WP486754 Whirlpool Compactor Screw7NUT8WP780437 Whirlpool Compactor Bottom Pan9WP489478 Whirlpool Refrigerator Screw104149659 Whirlpool Shield Assembly11WP489399 Whirlpool Refrigerator Screw12780434 Whirlpool Motor Cover13Plate, Motor Cover14Angle, Top Bracket15WP4387911 Whirlpool Refrigerator Switch16W11688705 Whirlpool Insulation17WP777811 Whirlpool Compactor Directional Switch18777849 Whirlpool Compactor Screw19Plate, Nut20W10279446 Whirlpool Wire Harness21Bushing, Cord22Clamp, Wire23Grommet, Motor Cover24WPW10001130 Whirlpool Leveling Leg25W11023674 Whirlpool Compactor Leveling Wheel26WP3351614 Whirlpool Screw27WP9870444 Whirlpool Compactor Inner Panel28WP777180 Whirlpool Compactor Spring