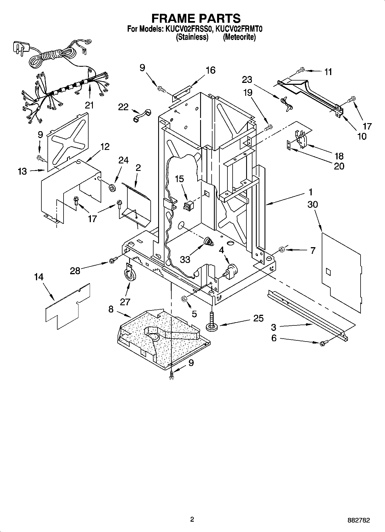
KUCV02FRMT0 02 – FRAME PARTS