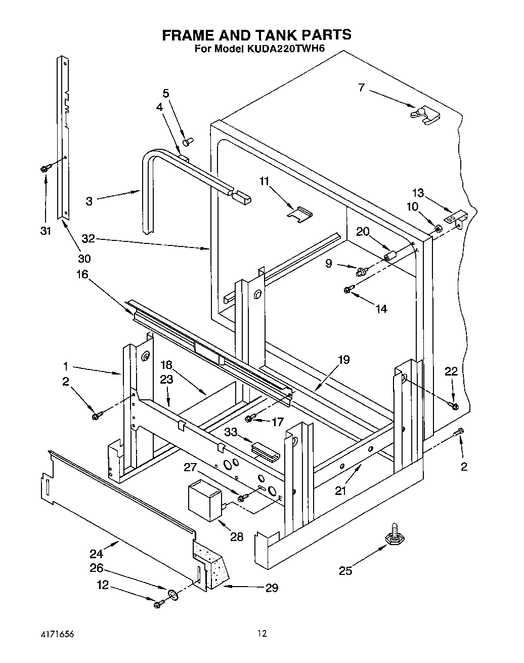
KUDA220TWH6 10 – FRAME AND TANK