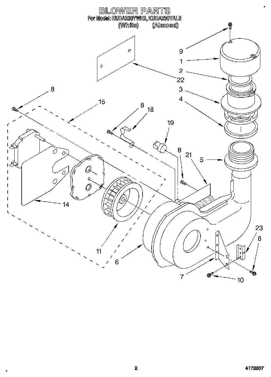
KUDA230YWH2 02 – BLOWER