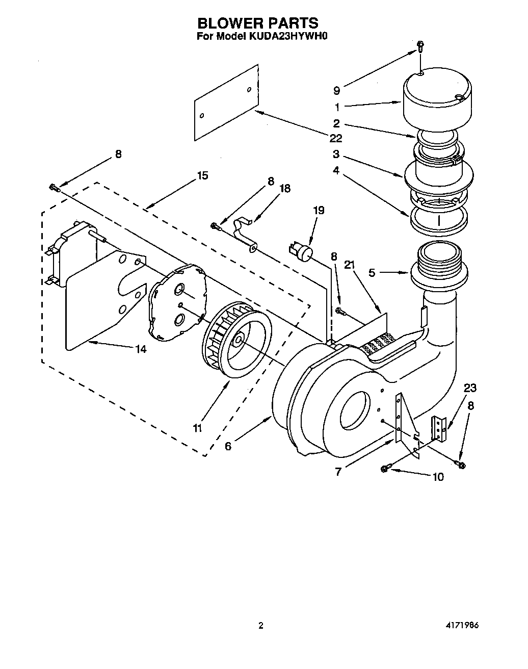
KUDA23HYWH0 02 – BLOWER