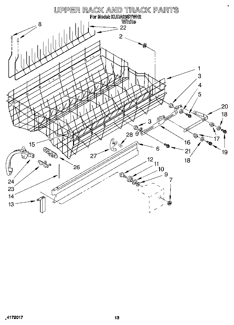
KUDA23SYWH2 10 – UPPER RACK AND TRACKadmin2025-04-26T12:58:42+00:00KUDA23SYWH2 10 – UPPER RACK AND TRACK
Products
| Position | Product |
|---|
| 1 | Upper Rack Assembly (Includes Items 2, 3, 4, 5 & 15) |
| 1 | xComplete Upper Rack Assembly (Includes Upper Sprayarm Parts) |
| 2 | Nut, Roller |
| 3 | Bearing & Spacer, Rack Roller |
| 4 | Washer |
| 6 | Track, Rack |
| 7 | Nut, Lock |
| 8 | Tip |
| 9 | Washer |
| 10 | Washer, Cup |
| 11 | Roller, Rack Track |
| 12 | Screw. Track Roller |
| 13 | Bumper, Rack Track |
| 14 | Stud, Bumper Retaining |
| 15 | Bumper, Upper Rack |
| 16 | Track, Adjustable (L.H.) |
| 16 | Track, Adjustable (R.H.) |
| 17 | Roller, Upper Rack Track |
| 18 | Washer |
| 19 | Screw, 8-32 X 1/4 |
| 20 | Lift, Receiver (R.H.) |
| 20 | Lift, Receiver (L.H.) |
| 21 | Screw, 10-16 X 5/8 |
| 22 | Partition |
| 23 | Clip, Partition (3) |
| 24 | Quadrant, Divider (R.H.) |
| 24 | Quadrant, Divider |
| 26 | Clip, Wash Arm Guard |
| 27 | Rackstop (L.H.) |
| 27 | Rackstop (R.H.) |
| 28 | Rivet |