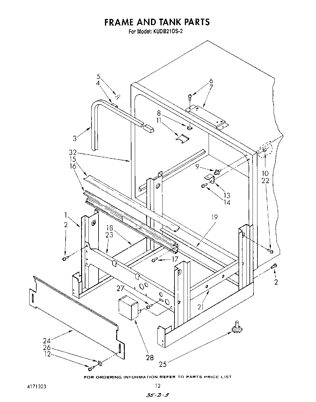
KUDB210S2 10 – FRAME AND TANK