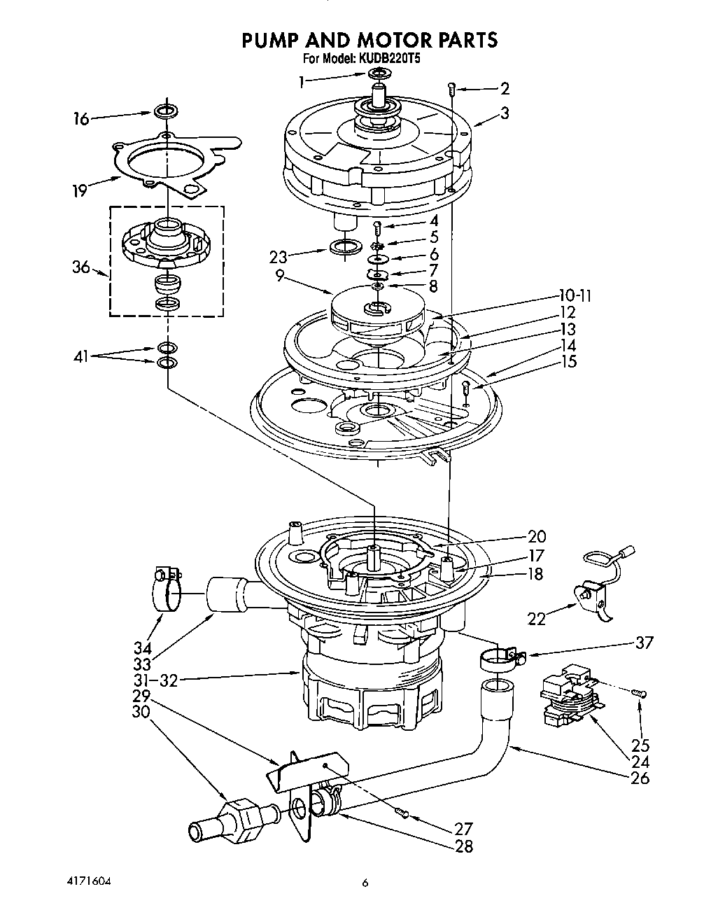
KUDB220T5 05 – PUMP AND MOTOR