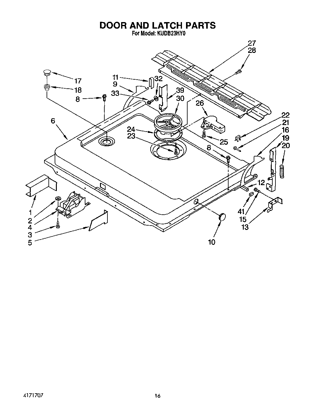
KUDB23HY0 13 – DOOR AND LATCH