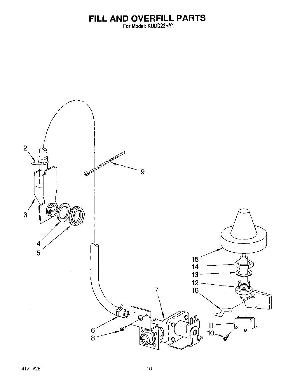
KUDD23HY1 07 – FILL AND OVERFILLadmin2025-04-26T13:01:34+00:00KUDD23HY1 07 – FILL AND OVERFILL ProductsPositionProduct2Clamp, Hose3Water Inlet and Hose Assembly4Gasket, Rinse Agent Dispenser5Nut, Rinse Agent Dispenser6Clamp, Hose7WP3372626 Whirlpool Dishwasher Inlet Valve8Screw, 10-16 x 1/29WPW10339879 Whirlpool Wire Tie10Screw11WP9743413 Whirlpool Dishwasher Switch12W10207863 Whirlpool Dishwasher Switch13WP8531743 Whirlpool Dishwasher Float Switch Base Gasket14Nut, Standpipe15Float & Retainer Assembly16Lever, Overflow Switch