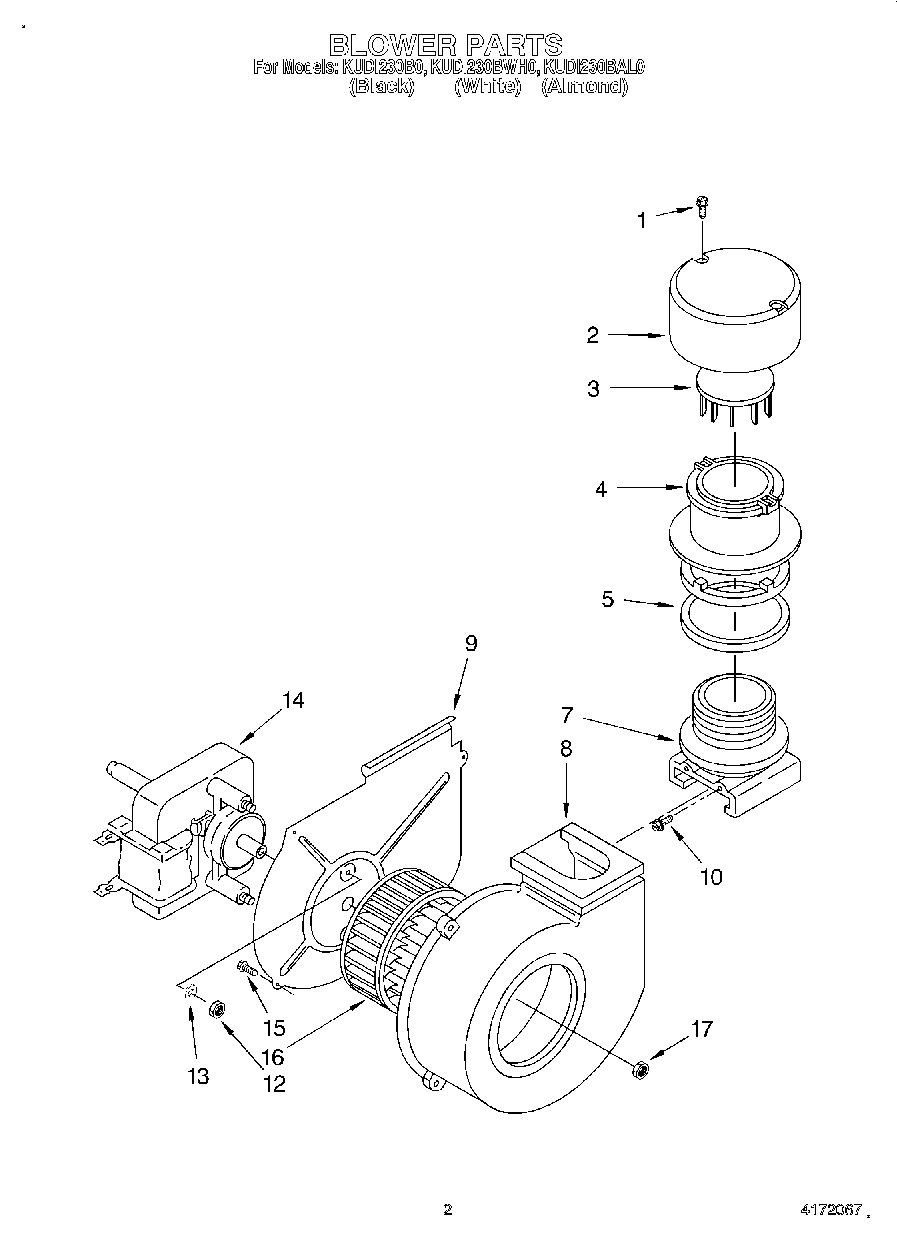
KUDI230B0 02 – BLOWERadmin2025-04-26T12:04:08+00:00KUDI230B0 02 – BLOWER ProductsPositionProduct1Screw2Cap, Air Inlet3Damper, Air Inlet4Tube, Air Inlet5Seal, Air Inlet7Support, Blower8Housing, Blower9Plate, Motor Mounting10Screw12Nut, 6-32 Hex13Lockwasher14Motor, Blower15Screw, 6 X 1/216Blower Wheel Assembly (Includes Item 17)17Nut