KUDI230BWH0 12 – DOOR AND LATCHadmin2025-04-26T12:05:29+00:00KUDI230BWH0 12 – DOOR AND LATCH
Products
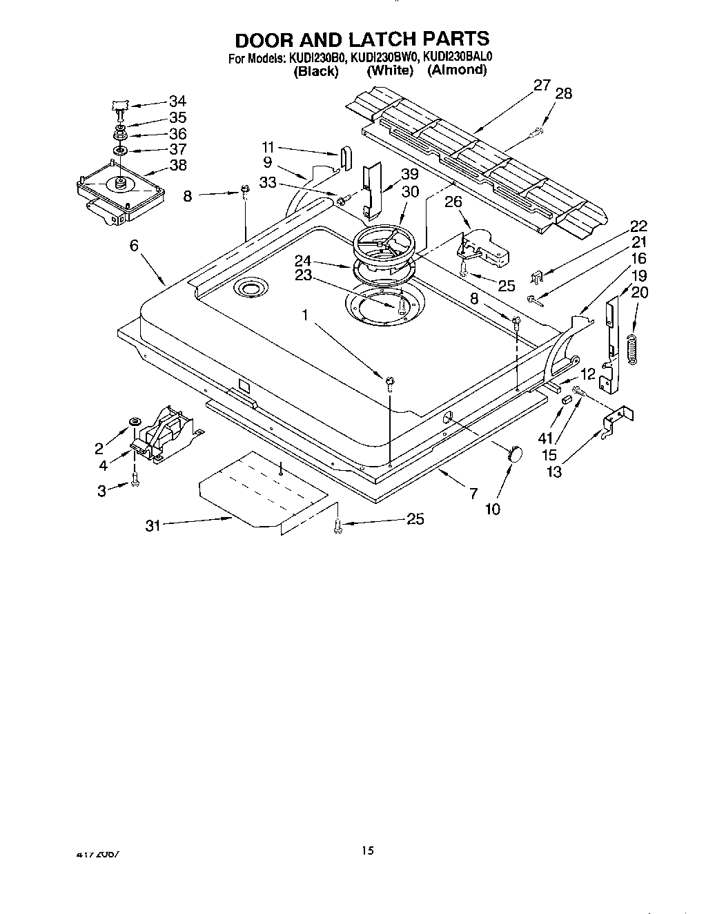
| Position | Product |
|---|
| 1 | Screw & Washer Assembly |
| 2 | Washer |
| 3 | Screw, 10-16 X 3/8 |
| 4 | Latch Mechanism Assembly |
| 6 | Inner Door Assembly |
| 7 | Insulation, Inner Door |
| 8 | Screw & Washer Assembly |
| 9 | Bracket, L.H. Door Stop |
| 10 | Plug Button |
| 11 | Bearing, Door Stop Insert (2) |
| 12 | Vapor Barrier, Inner Door (Includes Item No. 41) |
| 13 | Bracket, Spring Mounting (L.H.) |
| 13 | Bracket, Spring Mounting (R.H.) |
| 15 | WP3390631 Whirlpool Screw |
| 16 | Bracket, R.H. Door Stop |
| 19 | Bracket, R.H. Hinge |
| 20 | WP4171237 Whirlpool Dishwasher Spring |
| 21 | Pin, Hinge |
| 22 | Clip, Hinge Pin Retaining |
| 23 | Screw |
| 24 | WP4171447 Whirlpool Dishwasher Seal |
| 25 | Screw, 8-18 x 1/2 |
| 26 | WP9741678 Whirlpool Dishwasher Bi-Metal |
| 27 | Baffle, Lower |
| 28 | SCREW |
| 30 | Detergent Dispenser & Gasket Assembly (115 V., 60 Hz.) (Includes Item 24) |
| 31 | Barrier, Detergent Cup |
| 33 | Screw & Washer |
| 34 | Fill Hole Plug Assembly (Includes Item 35) |
| 35 | Washer, Fill Hole Plug |
| 36 | Nut, Rinse Agent Dispenser |
| 37 | Gasket, Rinse Agent Dispenser |
| 38 | Rinse Agent Dispensing Valve |
| 39 | Bracket, L.H. Hinge |
| 41 | Vapor Barrier, Corner (2) |