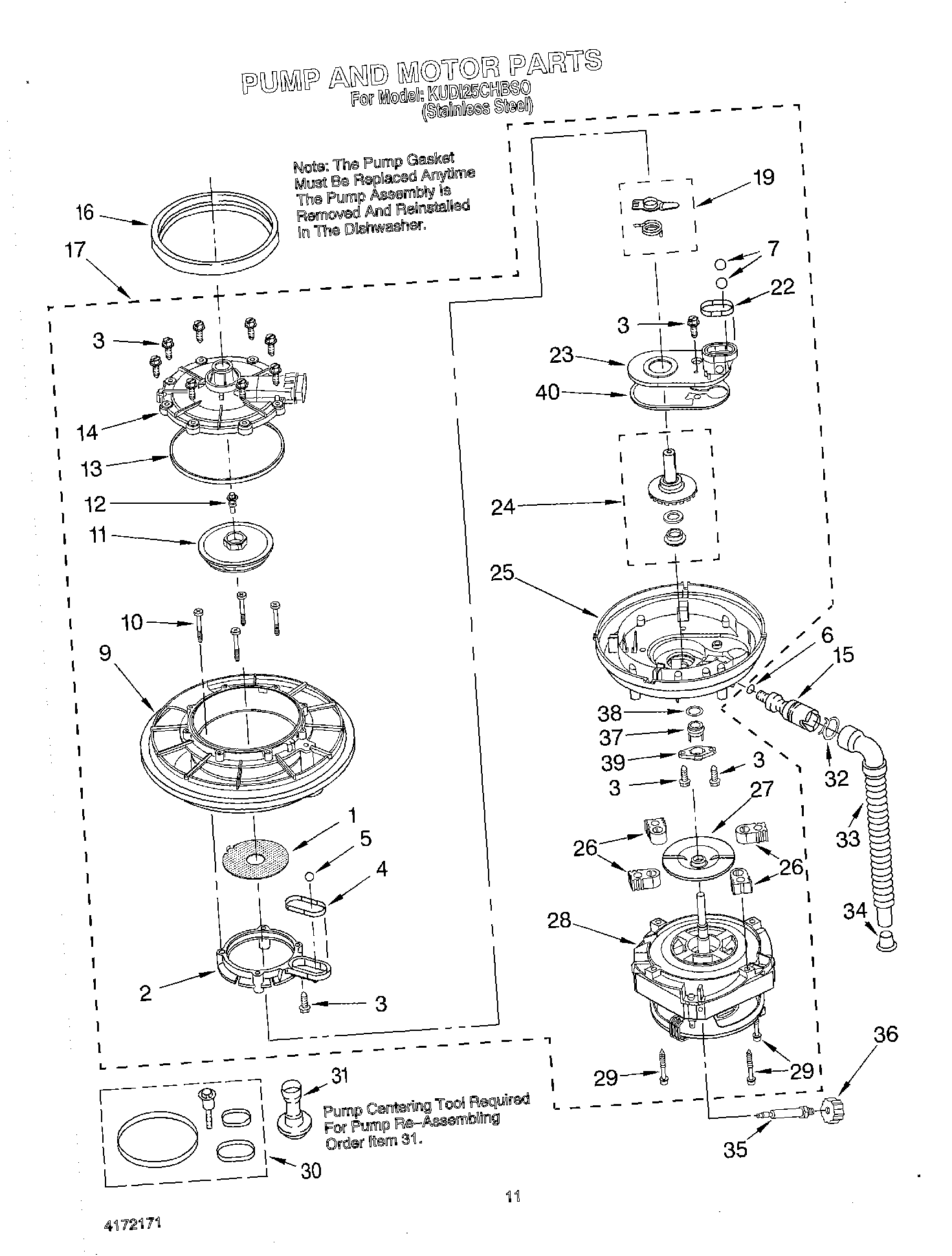
KUDI25CHBS0 09 – PUMP AND MOTOR