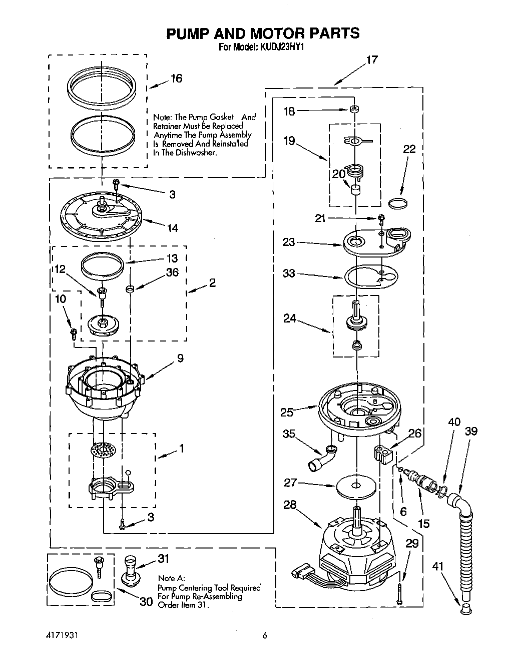
KUDJ23HY1 04 – PUMP AND MOTORadmin2025-04-26T12:03:27+00:00KUDJ23HY1 04 – PUMP AND MOTOR
Products
| Position | Product |
|---|
| 1 | Inlet Base Assy. (Also Order Item 30) See Note A. |
| 3 | WP9741232 Whirlpool Dishwasher Screw |
| 6 | ``O`` Ring |
| 9 | Box, Separator Collector (Also Order Item 30) See Note A. |
| 10 | Screw, 8-18 (4) |
| 12 | WP3371152 Whirlpool Dishwasher Screw |
| 13 | WP302711 Whirlpool Dishwasher Ring Seal |
| 14 | Outlet, Pump (Includes Item 13) |
| 15 | 675238 Whirlpool Check Valve |
| 16 | 717000 Whirlpool Dishwasher Gasket |
| 17 | Pump & Motor Assembly (Includes Item 16) |
| 18 | Bushing, Grind |
| 19 | 675806 Whirlpool Dishwasher Pump Impeller and Seal Kit |
| 20 | Sleeve, Drain Impeller |
| 21 | W11693756 Whirlpool Screw Assembly |
| 22 | Seal, Drain Cover |
| 23 | Cover, Drain (Includes Item 33) (Also Order Item 30) See Note A. |
| 25 | Base, Pump (Includes Items 24 & 33) (Also Order Item 30) See Note A. |
| 26 | WP3367197 Whirlpool Dishwasher Support |
| 27 | W10909679 Whirlpool Dishwasher Slinger |
| 28 | Motor (Includes Items 24 & 27) (Also Order Item 30) See Note A. |
| 29 | Screw (4) |
| 30 | Pump Seal Kit (Includes Items 4, 12, 13 & 22) |
| 31 | Tool, Pump Centering |
| 33 | WP9740674 Whirlpool Dishwasher Gasket |
| 35 | Connector, Overhead |
| 36 | WP9740678 Whirlpool Dishwasher Ring Seal |
| 39 | Tube, Drain |
| 40 | WP285655 Whirlpool Hose Clamp |
| 41 | Cap, Drain |