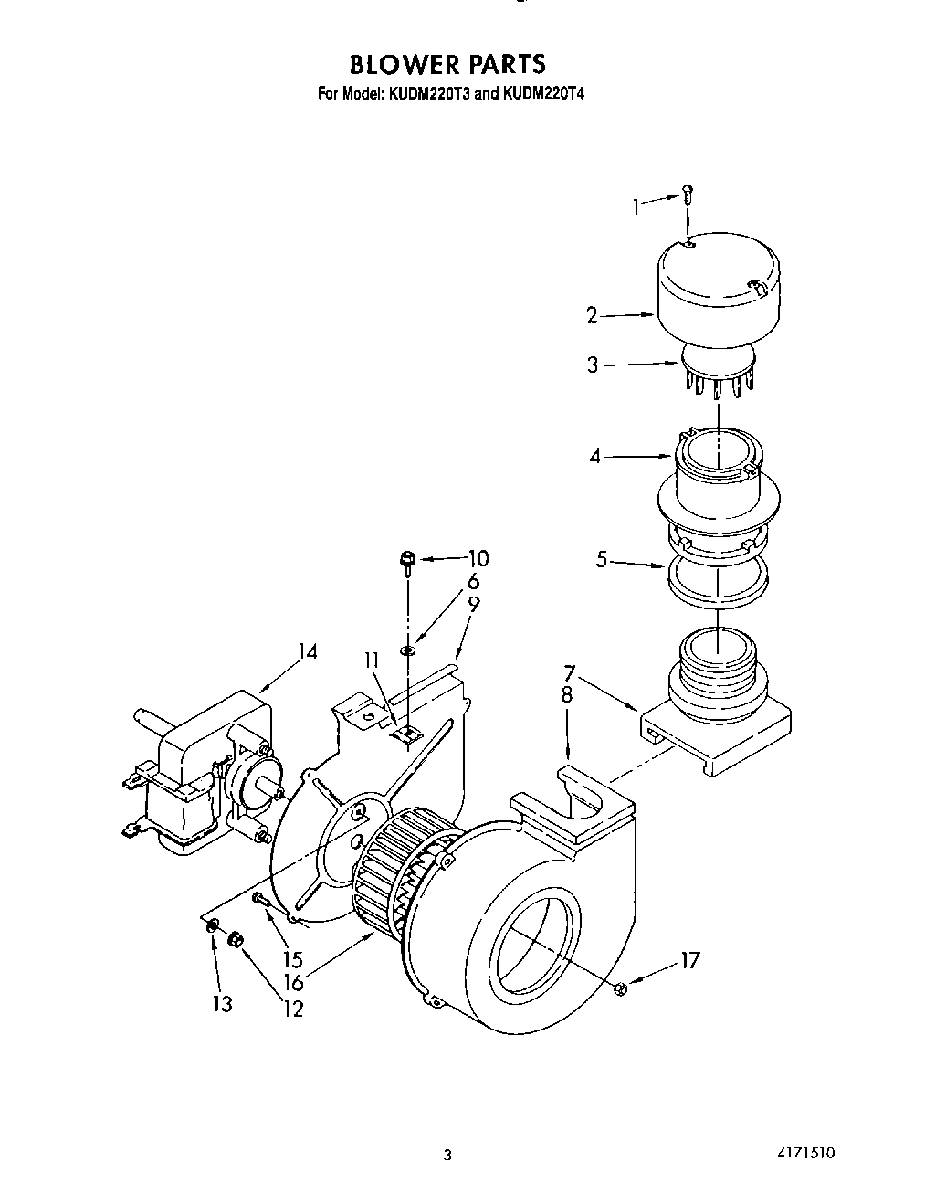
KUDM220T3 03 – BLOWERadmin2025-04-26T12:06:38+00:00KUDM220T3 03 – BLOWER ProductsPositionProduct1Screw, 6-32 X 7/82Cap, Air Inlet3Damper, Air Inlet4Tube, Air Inlet5Seal, Air Inlet6Spacer, Blower Mounting7Support, Blower8Housing, Blower9Plate, Motor Mounting10Screw, Blower Retainer11WPL 416290312Nut, 6-32 Hex13Lockwasher14Motor, Blower15Screw, 6 X 1/216Blower Wheel Assembly (Includes Item 17)17Nut