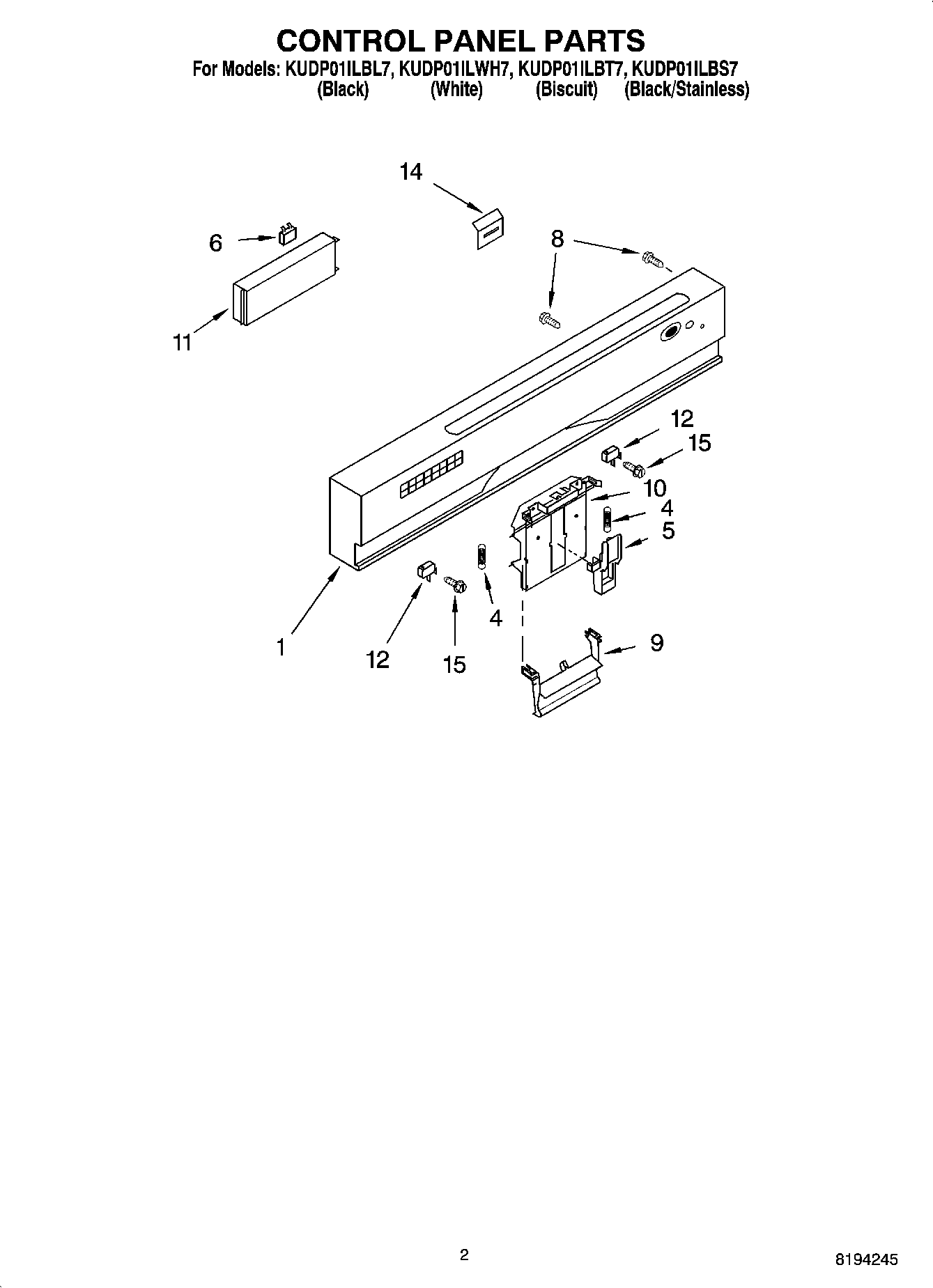
KUDP01ILBT7 02 – CONTROL PANEL PARTS