KUDS21MS3 11 – UPPER RACK AND TRACKadmin2025-04-26T12:43:28+00:00KUDS21MS3 11 – UPPER RACK AND TRACK
Products
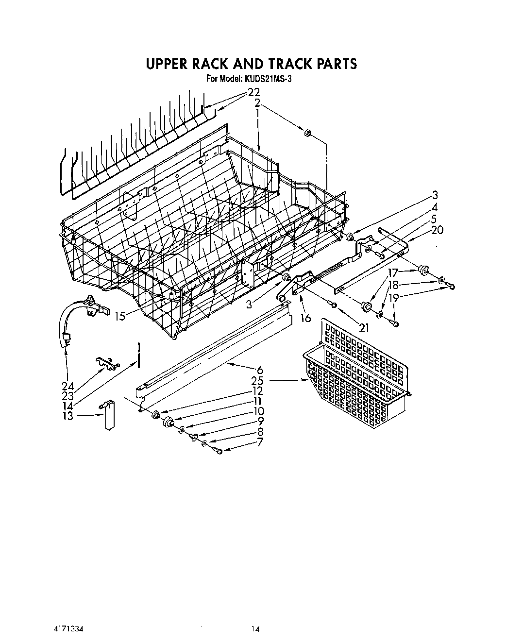
| Position | Product |
|---|
| 1 | Upper Rack Assy. (Incls. Items 2, 3, 4, 5 & 15) |
| 2 | Nut, Roller |
| 3 | Bearing & Spacer, Rack Roller |
| 4 | Washer |
| 6 | Track, Rack |
| 7 | Screw, 10-16 X 3/8 |
| 8 | Gasket, Rack Stud |
| 9 | Stud, Rack Roller |
| 10 | Washer, Roller Spacing |
| 11 | Roller, Rack Track |
| 12 | Bushing, Rack Roller |
| 13 | Bumper, Rack Track |
| 14 | Stud, Bumper Retaining |
| 15 | Bumper, Upper Rack |
| 16 | Track, Adjustable (R.H.) |
| 16 | Track, Adjustable (L.H.) |
| 17 | Roller, Upper Rack Track |
| 18 | Washer |
| 19 | Screw, 8-32 X 1/4 (4) |
| 20 | Lift, Receiver (L.H.) |
| 20 | Lift, Receiver (R.H.) |
| 21 | Screw, 10-16 X 5/8 |
| 22 | Partition |
| 23 | Clip, Partition (3) |
| 24 | Quadrant, Divider (R.H.) |
| 24 | Quadrant, Divider (L.H.) |
| 25 | W11175758 Whirlpool Dishwasher Basket Ware |