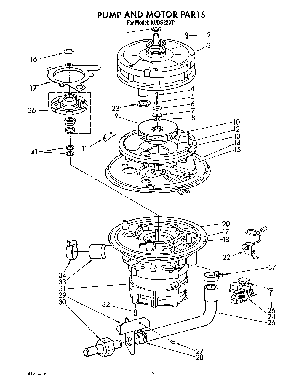
KUDS220T1 05 – PUMP AND MOTORadmin2025-04-26T12:44:19+00:00KUDS220T1 05 – PUMP AND MOTOR
Products
| Position | Product |
|---|
| 1 | Washer |
| 2 | SCREW |
| 3 | Wash Pump Top (Includes Items 1 & 23) |
| 4 | Screw, 10-32 |
| 5 | Washer |
| 6 | Washer, Spring (Impeller) |
| 7 | Washer, Impeller |
| 8 | ``O`` Ring |
| 9 | Wash Impeller Assembly |
| 10 | Plate, Air Inlet Cover |
| 11 | Gasket, Cover Plate |
| 12 | Lower Pump Housing (Includes Items 13 & 23) |
| 13 | Seal, Wash Pump Ring |
| 14 | Fine Strainer |
| 16 | ``O`` Ring |
| 17 | Motor Mounting Plate (Incls. Items 18 & 35) |
| 18 | Gasket, Motor Mounting Plate |
| 19 | Screw, 8-32 x 1/2 |
| 19 | Drain Pump Top Assembly |
| 20 | Gasket, Drain Pump |
| 22 | Motor Clamp Assembly |
| 23 | Gasket, Venturi |
| 24 | Start Relay Kit (Includes Item 25) |
| 25 | Screw, 8-18 x 1-1/4 |
| 26 | Tube - Flexible (Drain) |
| 27 | WP693304 Whirlpool Screw |
| 28 | Clamp, Hose (.937`` Dia.) |
| 29 | Bracket, Check Valve |
| 30 | Check Valve Assembly |
| 31 | Motor, Seal & Gasket Kit (Incls. Items 18, 24 & 35) |
| 32 | Screw, 1/4-20 x 1 |
| 33 | Connector, Overhead |
| 34 | Clamp, Hose (1.468`` Dia.) |
| 36 | Cutter Kit (Incls. Shaft Seal Kit) |
| 37 | 3363365 Whirlpool Clamp |
| 41 | Shim Washer Kit |