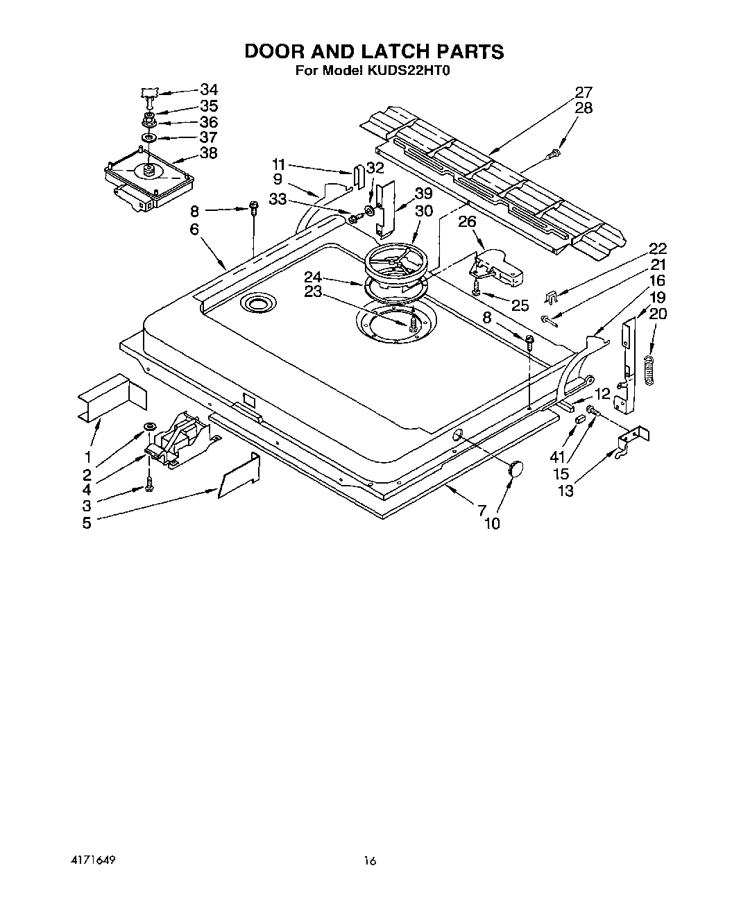
KUDS22HT0 13 – DOOR AND LATCH