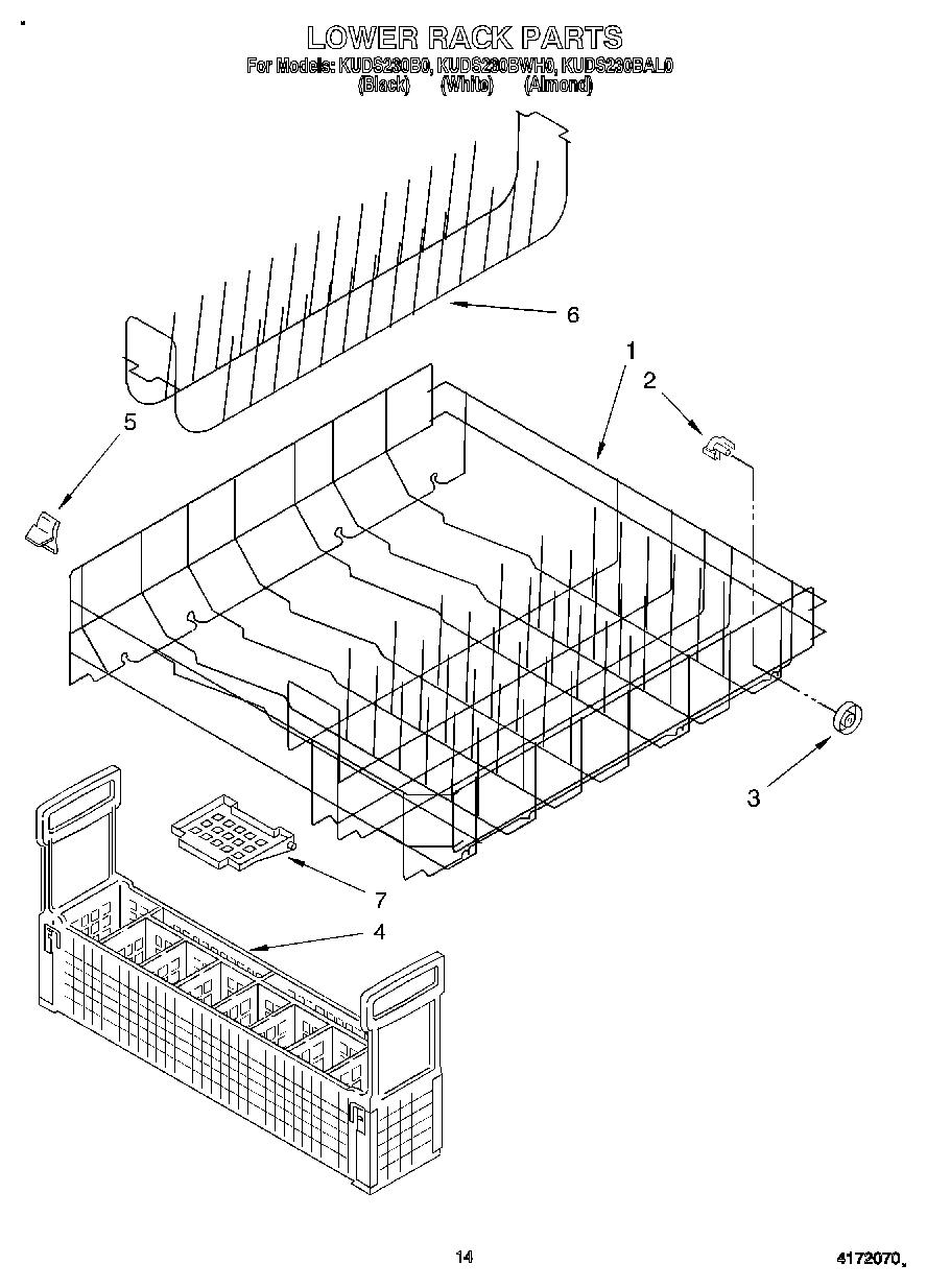
KUDS230BAL0 11 – LOWER RACKadmin2025-04-26T12:44:36+00:00KUDS230BAL0 11 – LOWER RACK ProductsPositionProduct1Lower Rack Assembly (Includes Items 2, 3 & 5)2Axle, Lower Rack (8)3WP4162322 Whirlpool Dishwasher Roller48519598 Whirlpool Silverware Basket5Bumper, Lower Rack (2)6Plate Rack7Lid, Basket