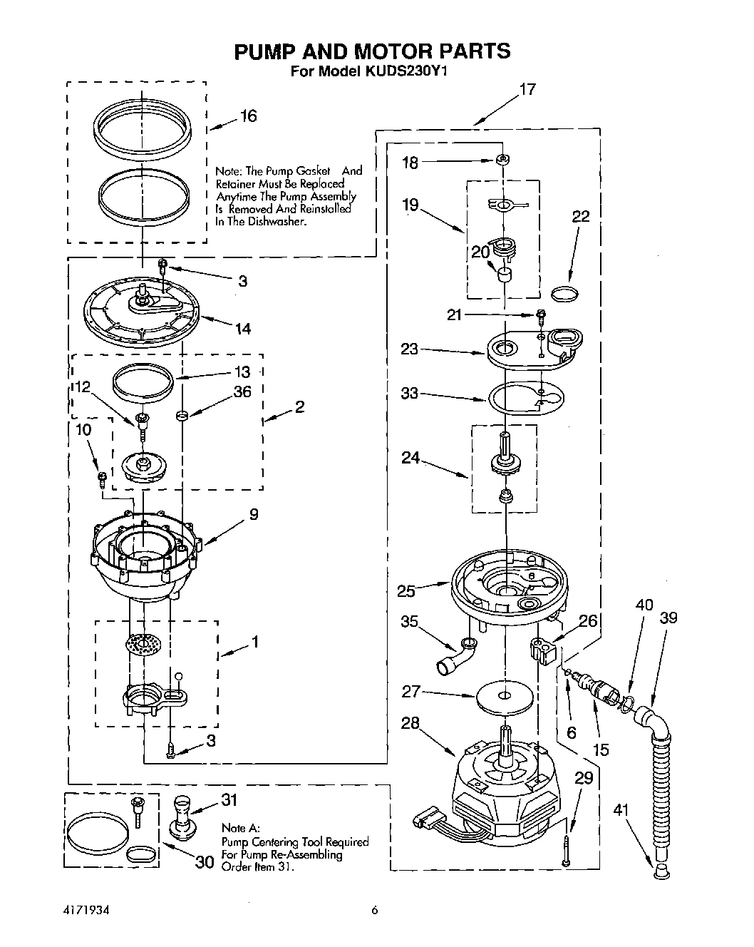
KUDS230Y1 04 – PUMP AND MOTOR