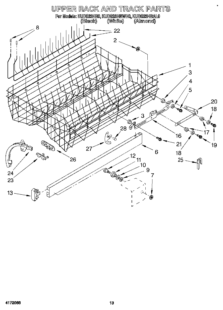
KUDS23HBAL0 10 – UPPER RACK AND TRACK