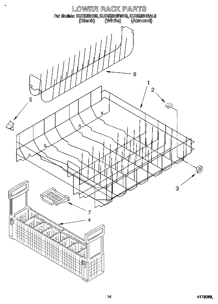
KUDS23HBAL0 11 – LOWER RACK