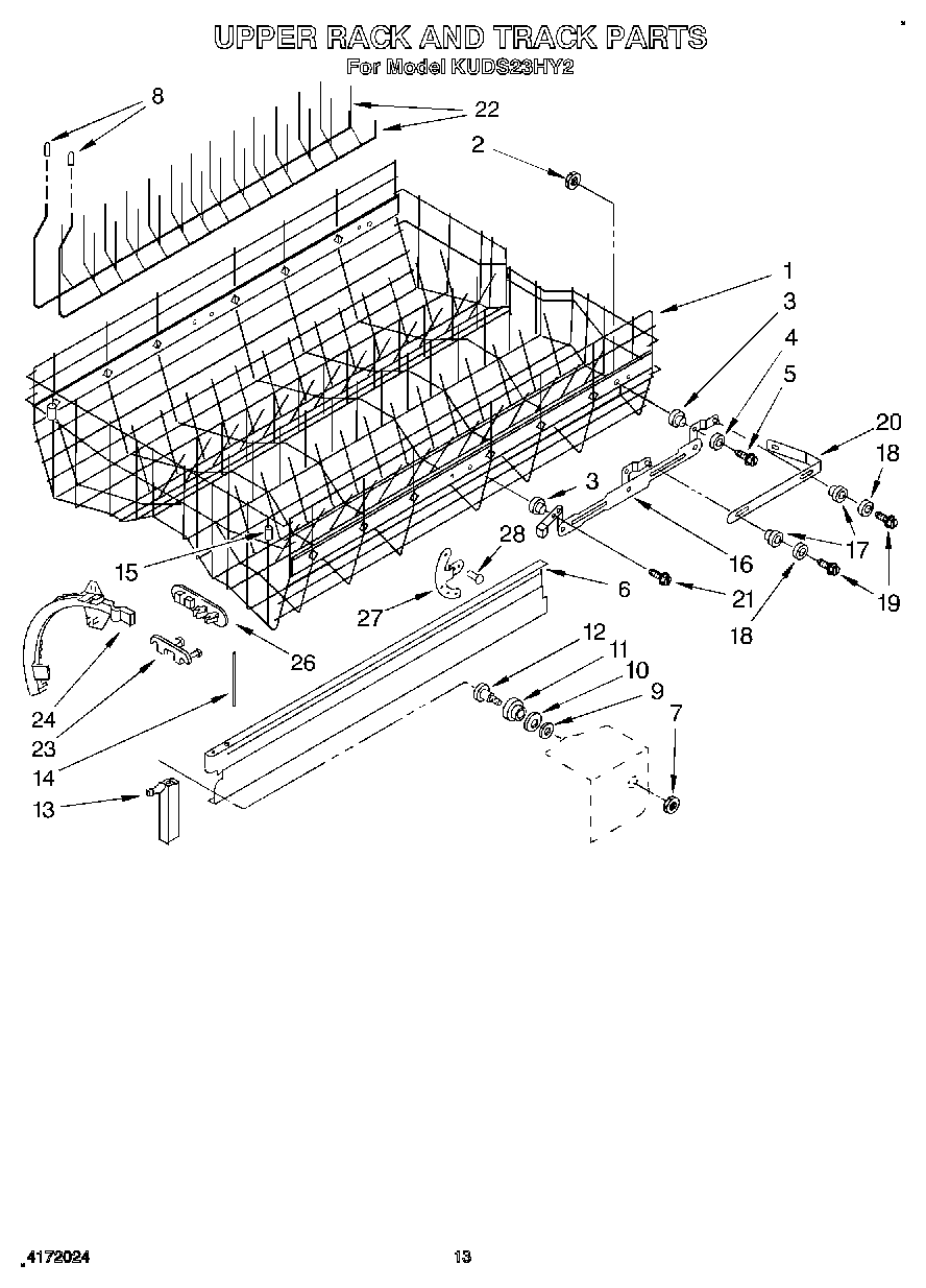
KUDS23HY2 10 – UPPER RACK AND TRACK