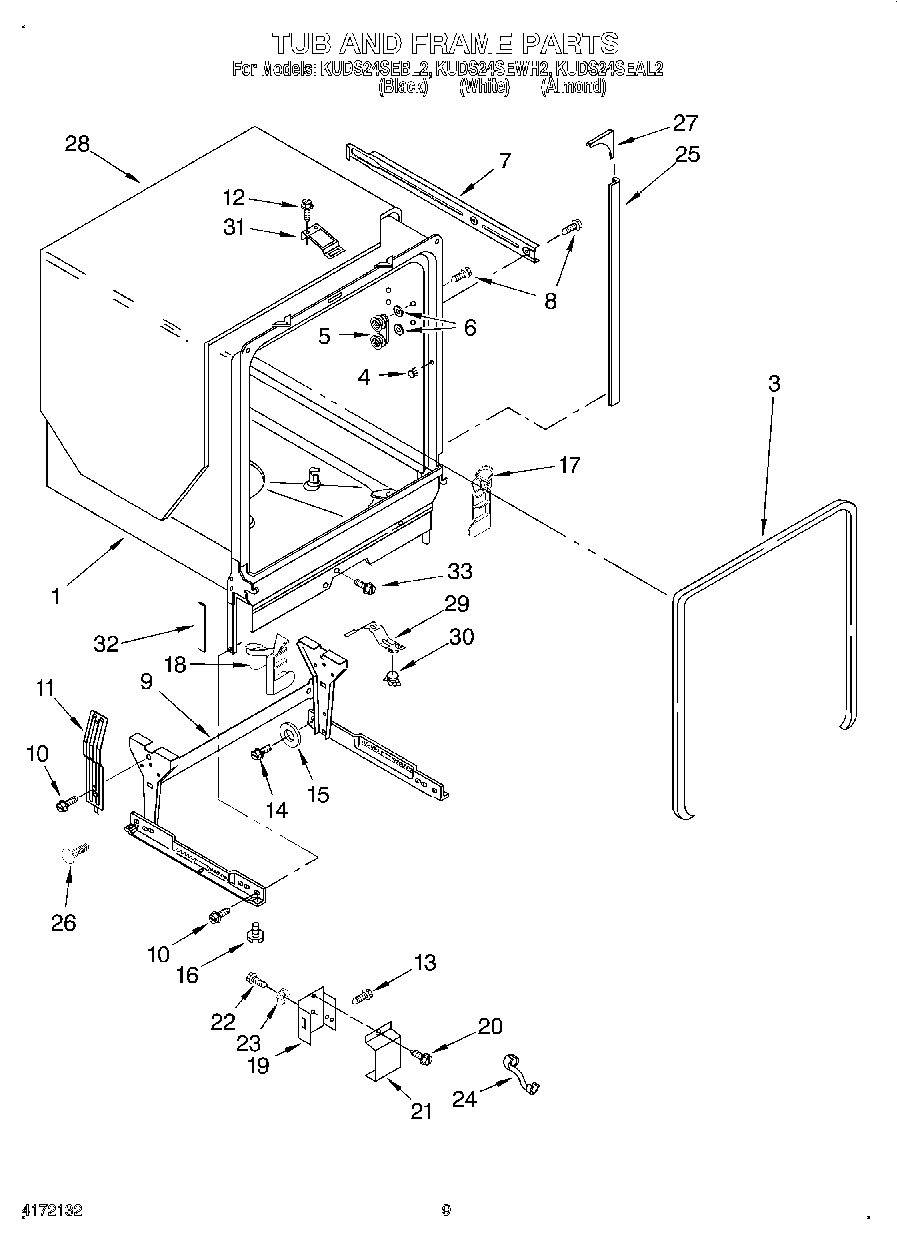
KUDS24SEBL2 08 – TUB AND FRAMEadmin2025-04-26T12:43:38+00:00KUDS24SEBL2 08 – TUB AND FRAME ProductsPositionProduct1Tub Assembly3W11196317 Whirlpool Dishwasher Door Gasket4Plug Tub (2)5Wheel & Mount Assembly (Also Order Item 6)6WP9743002 Whirlpool Dishwasher Gasket7Tub Stiffener8WPW10349488 Whirlpool Screw9Rear Support Assembly10SCREW11Connector Tub To Brace12WP90767 Whirlpool Screw13WP489069 Whirlpool Compactor Screw14Screw (2)15WP302819 Whirlpool Dishwasher Wheel168193716 Whirlpool Leveling Leg174172127 Whirlpool Dishwasher Bottom Door Seal19Terminal Box20Screw21300068 Whirlpool Dishwasher Cover Assembly22WP3400014 Whirlpool Dishwasher Screw23WP3378128 Whirlpool Dishwasher Washer24Relief, Strain25Trim Strip, Tub26WP304666 Whirlpool Dishwasher Retainer27Corner Trim, Tub28W11086533 Whirlpool Dishwasher Shield299742648 Whirlpool Dishwasher Stat Bracket30WP661566 Whirlpool High Limit Thermostat31Strike, Latch32Pad, Friction33WP489128 Whirlpool Refrigerator Screw