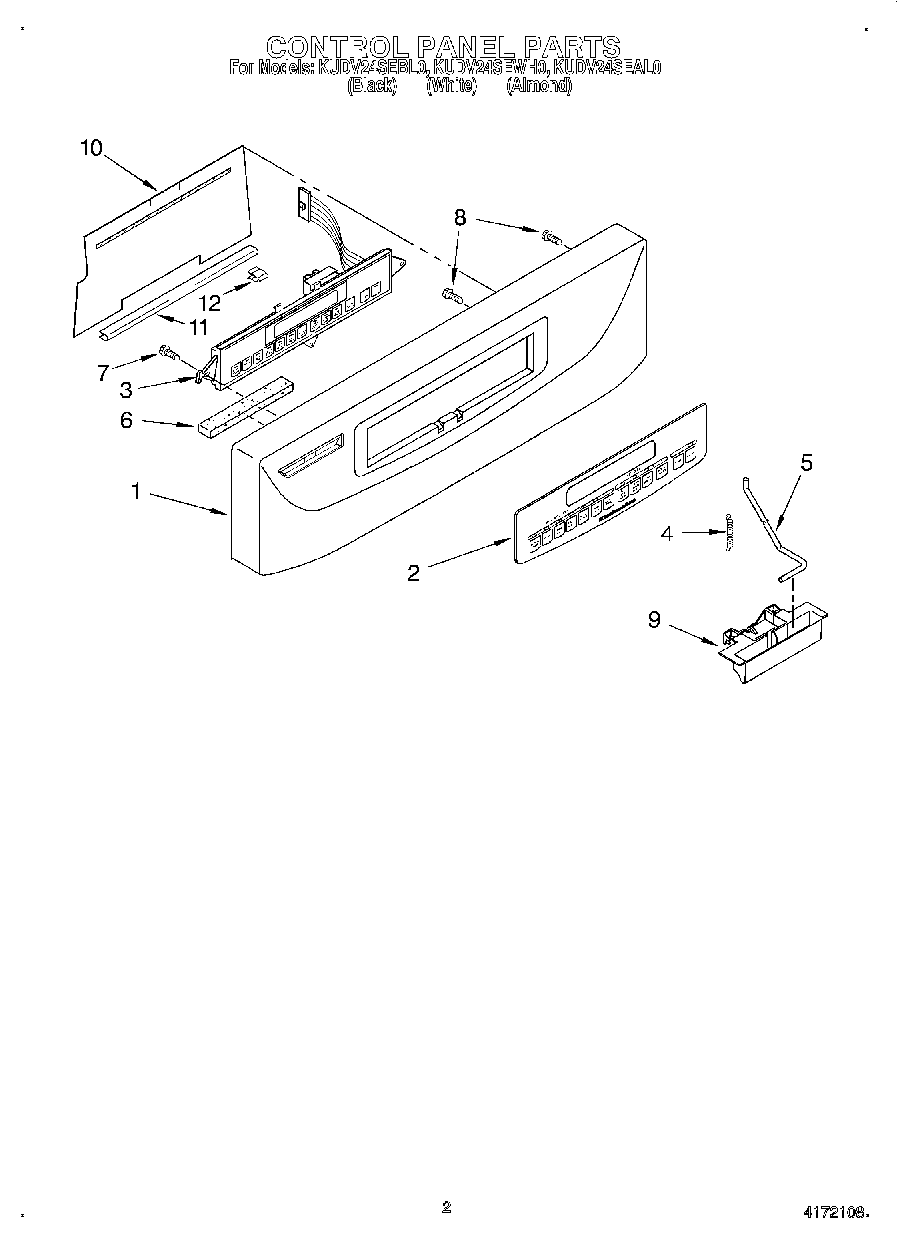
KUDV24SEAL0 02 – CONTROL PANEL