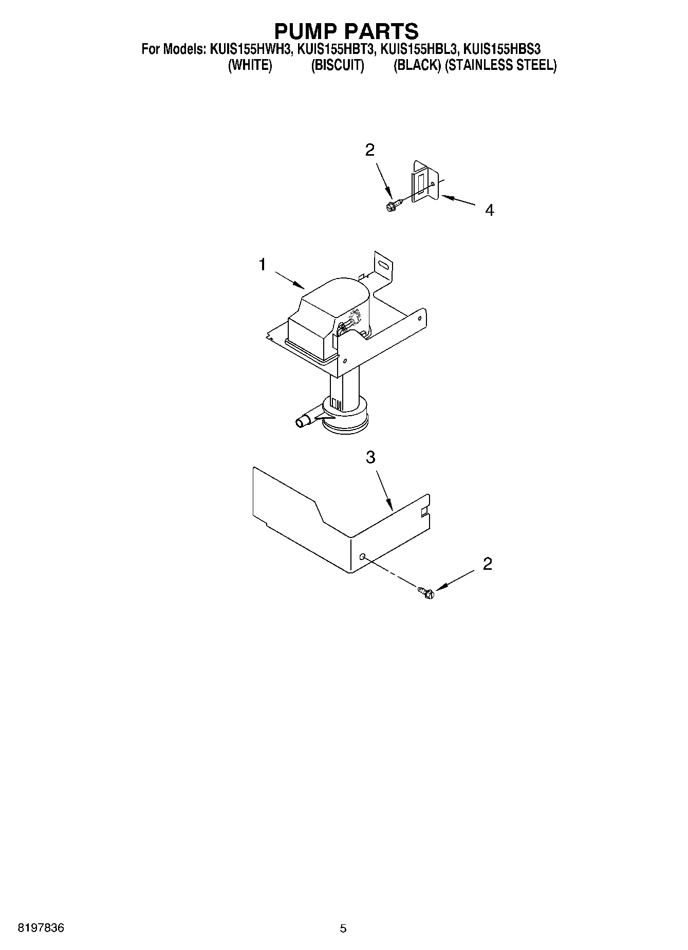
KUIS155HBL3 03 – PUMPadmin2025-04-26T11:40:02+00:00KUIS155HBL3 03 – PUMP ProductsPositionProduct1WP2217220 Whirlpool Recirculation Pump Assembly2WP3400884 Whirlpool Refrigerator Screw32185677 Whirlpool Refrigerator Pump Cover4Bracket, Connector Assembly