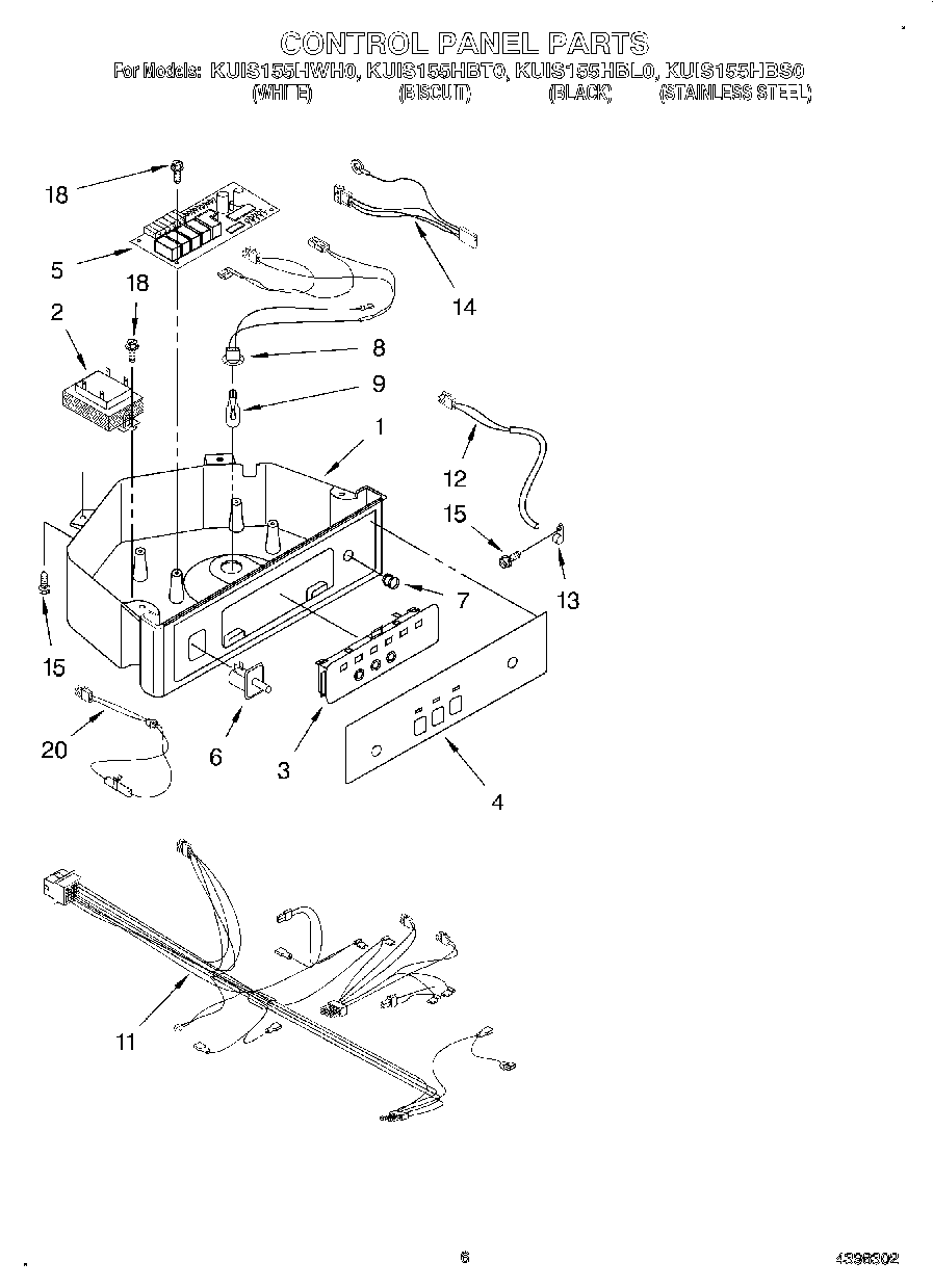
KUIS155HBT0 04 – CONTROL PANELadmin2025-04-26T11:39:48+00:00KUIS155HBT0 04 – CONTROL PANEL ProductsPositionProduct1Box, Control2Transformer3Assembly, Switch (ALSO ORDER 4)4Overlay5P.C. Board6WP2149705 Whirlpool Refrigerator Door Switch7Lens, LED8Wiring Harness Grid/ Light9Bulb, Light (Pkg. Of 2)11Wiring Harness, Control Box12WPW10503764 Whirlpool Refrigerator Thermistor132185825 Whirlpool Refrigerator Clamp14Wiring Harness, Main to Pump,15WP3400884 Whirlpool Refrigerator Screw18WP489443 Whirlpool Refrigerator Screw20Thermister, Ice Control