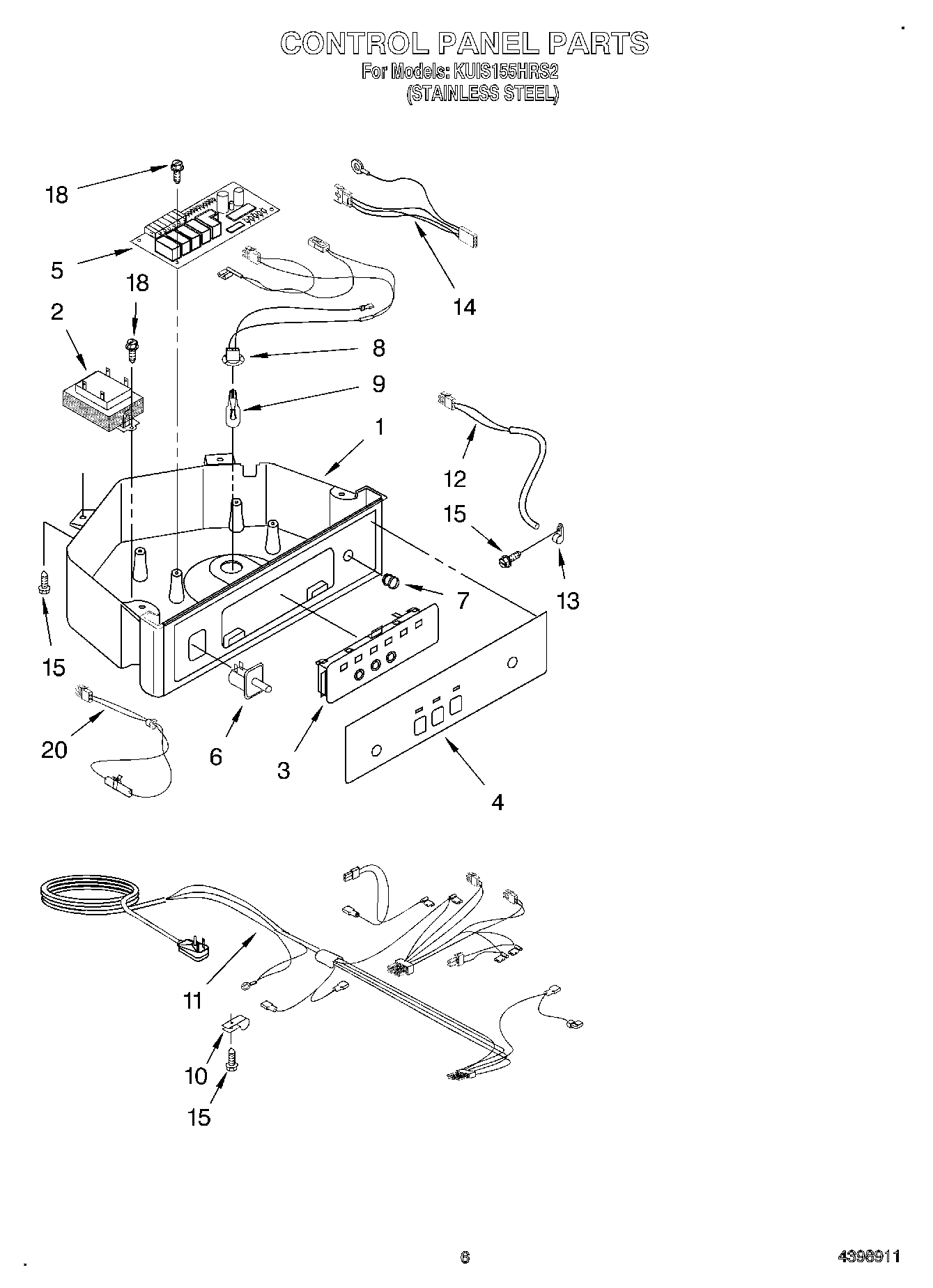
KUIS155HRS2 04 – CONTROL PANELadmin2025-04-26T11:40:32+00:00KUIS155HRS2 04 – CONTROL PANEL ProductsPositionProduct1Box, Control2Transformer3Assembly, Switch (ALSO ORDER 4)4Overlay5P.C. Board6WP2149705 Whirlpool Refrigerator Door Switch7Lens, LED8Wiring Harness Grid/ Light9Bulb, Light (Pkg. Of 2)10W11456069 Whirlpool Refrigerator Clamp11Wiring Harness, Complete Unit (Includes Power Cord)12WPW10503764 Whirlpool Refrigerator Thermistor132185825 Whirlpool Refrigerator Clamp14Wiring Harness, Main to Pump,15WP3400884 Whirlpool Refrigerator Screw18WP489443 Whirlpool Refrigerator Screw20Thermister, Ice Control