| 1 | GEN 79-4009 |
| 41 | DR SEAL RETAINER |
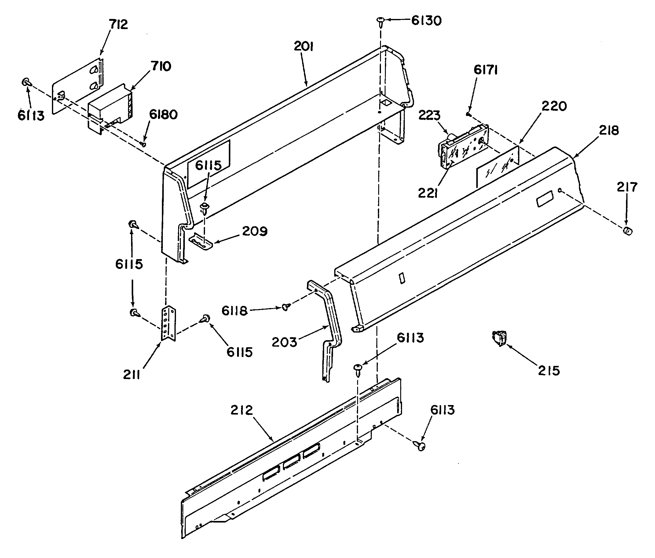
| 203 | BKGD END CAP-RT |
| 203 | BKGD END CAP-LT |
| 209 | GEN WB02X9000 |
| 211 | GEN WB07X1647 |
| 212 | BACKGUARD FRONT PANEL |
| 215 | ROCKER SWITCH-GRAY |
| 218 | GEN WB07X1736 |
| 415 | OV DR GLASS RETAINER |
| 710 | SPARK IGN MODULE |
| 712 | MODULE MTG PLATE |
| 6113 | GEN WB01X1113 |
| 6115 | WB1M1 GE Oven Screw |
| 6118 | WB1X1118 GE Oven Screw 6-32T |
| 6130 | WB1X1130 GE Oven Screw 10-32 |
| 6151 | GEN WB01X1151 |