L2B115GEL0 2
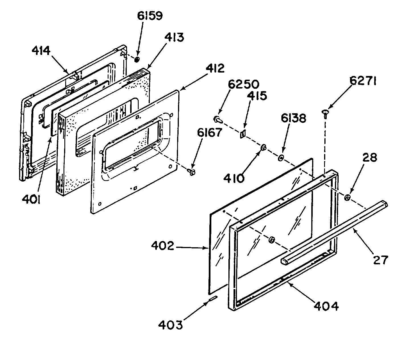
Products
| Position | Product |
|---|---|
| 27 | OV DOOR HANDLE |
| 28 | DOOR HANDLE SPACER-BLACK |
| 402 | OV DOOR OUTER GLASS |
| 403 | GEN WB02X9036 |
| 404 | OV DOOR FRAME |
| 410 | UNKNOWN |
| 413 | UNKNOWN |
| 414 | GEN WB56X1885 |
| 6138 | FIBER WASHER |
| 6159 | FELT WASHER |
| 6167 | GEN WB01X1167 |
| 6250 | GEN WB01X1250 |
| 6271 | SCREW |