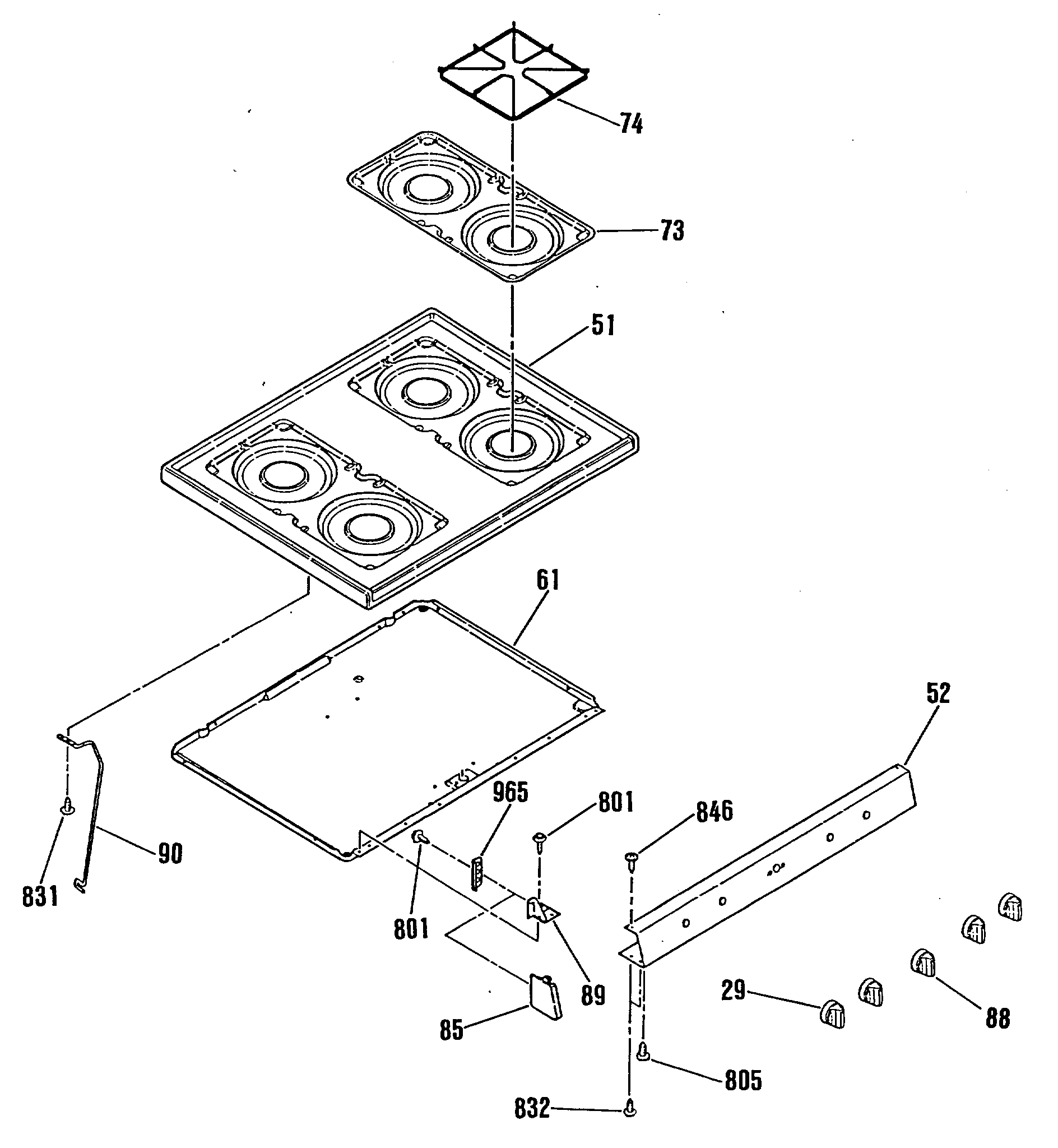
L2B115GEL2 1admin2025-04-26T10:17:51+00:00L2B115GEL2 1 ProductsPositionProduct29GAS VALVE KNOB 90 DEGREE51MAIN TOP-WHITE51MAIN TOP-ALMOND52MANIFOLD PANEL61GEN WB63X033674GRATE85MANIF PNL END CAP-RT-BLK85MANIF PNL END CAP-LT-BLK88THERMOSTAT KNOB89MANIF PANEL BRACKET-LT89MANIF PANEL BRACKET-RT801WB1M1 GE Oven Screw805GEN WB01X1113832WB1X1118 GE Oven Screw 6-32T846SCREW965GEN WB02X9000