L2B135GEL0 2
Products
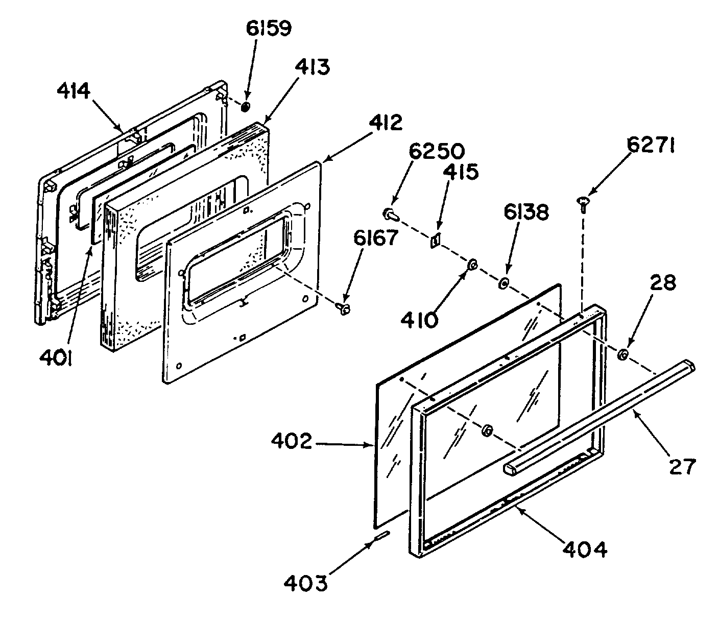
| Position | Product |
|---|---|
| 27 | OV DOOR HANDLE |
| 28 | DOOR HANDLE SPACER-BLACK |
| 401 | OVEN DOOR GLASS-CENTER |
| 402 | WB56X1902 GE Oven Outer Glass |
| 403 | GEN WB02X9036 |
| 404 | OV DOOR FRAME |
| 410 | UNKNOWN |
| 412 | INSULATION RETAINER |
| 413 | UNKNOWN |
| 414 | GEN WB56X1911 |
| 6138 | FIBER WASHER |
| 6159 | FELT WASHER |
| 6167 | GEN WB01X1167 |
| 6250 | GEN WB01X1250 |
| 6271 | SCREW |