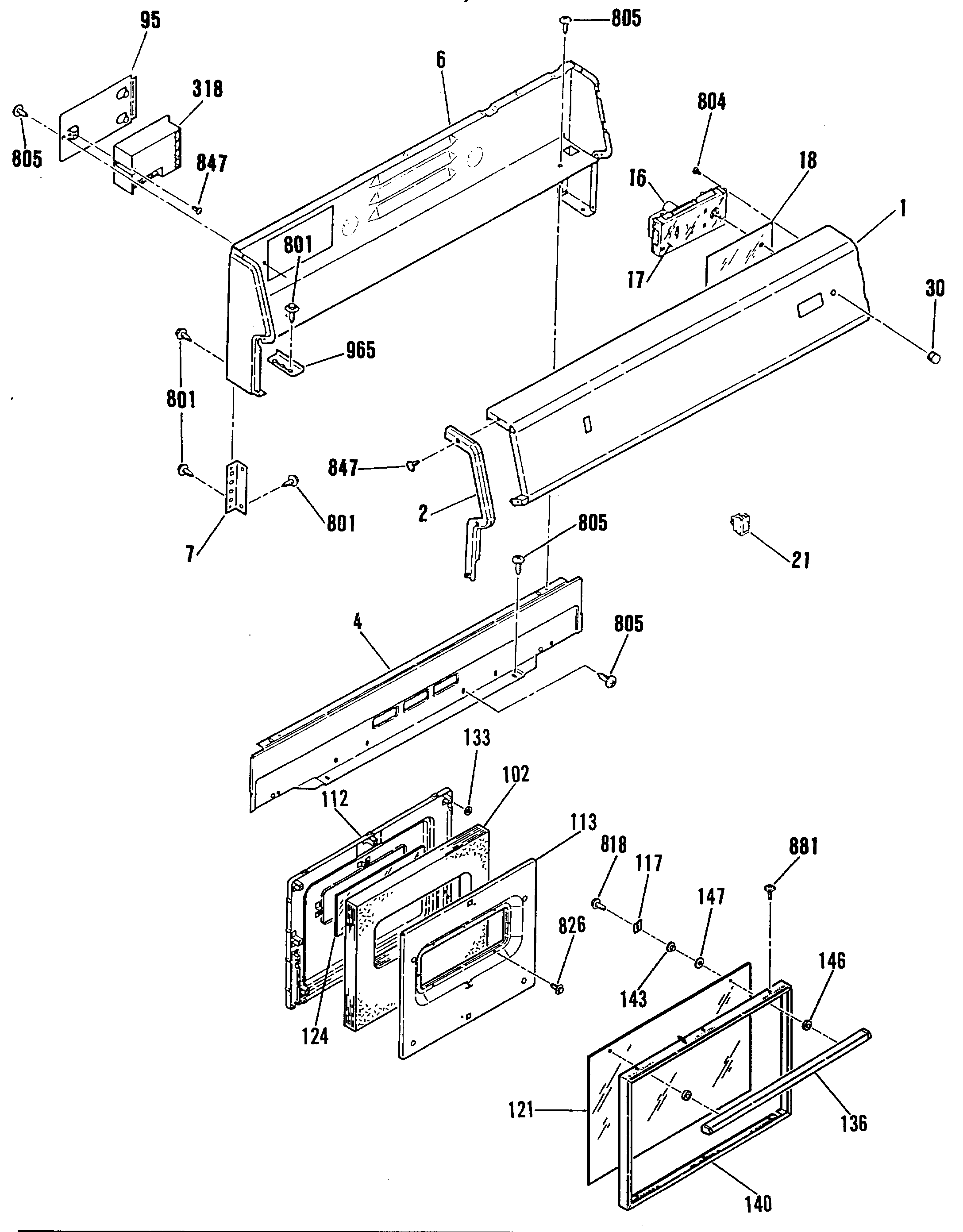
| 1 | GEN WB07X1737 |
| 2 | BKGD END CAP-RT |
| 2 | BKGD END CAP-LT |
| 4 | BACKGUARD FRONT PANEL |
| 6 | GEN WB37K5009 |
| 7 | GEN WB07X1647 |
| 16 | GEN WB19X0257 |
| 17 | CLOCK LENS |
| 18 | GEN WB02X9694 |
| 21 | ROCKER SWITCH-GRAY |
| 30 | CLOCK KNOB |
| 95 | MODULE MTG PLATE |
| 95 | MAINTOP HINGE BRACKET |
| 102 | UNKNOWN |
| 112 | OV DR LINING |
| 113 | INSULATION RETAINER |
| 117 | OV DR GLASS RETAINER |
| 121 | WB56X1902 GE Oven Outer Glass |
| 124 | OVEN DOOR GLASS-CENTER |
| 133 | FELT WASHER |
| 136 | OV DOOR HANDLE |
| 140 | OV DOOR FRAME |
| 143 | UNKNOWN |
| 146 | DOOR HANDLE SPACER-BLACK |
| 147 | FIBER WASHER |
| 318 | SPARK IGN MODULE |
| 801 | WB1M1 GE Oven Screw |
| 804 | WB1X681 GE Oven Screw |
| 805 | GEN WB01X1113 |
| 818 | GEN WB01X1250 |
| 826 | GEN WB01X1167 |
| 847 | WB1X1118 GE Oven Screw 6-32T |
| 881 | SCREW |
| 965 | GEN WB02X9000 |
| 999 | MAIN WIRE HARNESS |
| 999 | BACKGUARD WIRE HARNESS |
| 999 | GEN 79-4039 |
| 999 | GEN 31-13040 |
| 999 | GEN 31-0938 |
| 999 | GEN WB18M0035 |