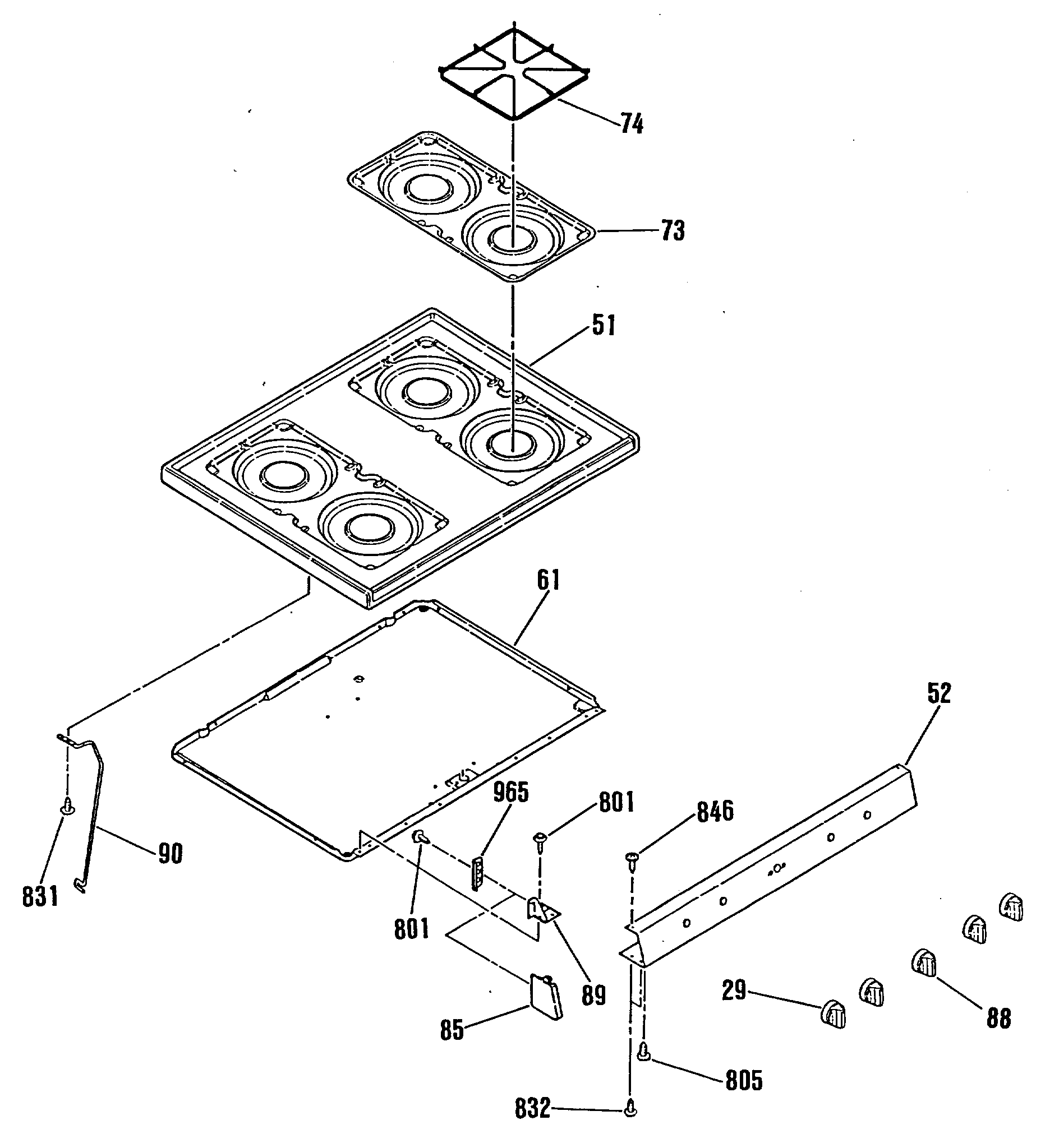
L2B135GEL2 1admin2025-04-26T10:18:19+00:00L2B135GEL2 1 ProductsPositionProduct29GAS VALVE KNOB 90 DEGREE51MAIN TOP-WHITE51MAIN TOP-ALMOND52MANIFOLD PANEL61GEN WB63X033673AERATION PAN74GRATE85MANIF PNL END CAP-LT-BLK85MANIF PNL END CAP-RT-BLK88THERMOSTAT KNOB89MANIF PANEL BRACKET-LT89MANIF PANEL BRACKET-RT90SUPPORT ROD801WB1M1 GE Oven Screw805GEN WB01X1113831GEN WB01X1132832WB1X1118 GE Oven Screw 6-32T846SCREW965GEN WB02X9000