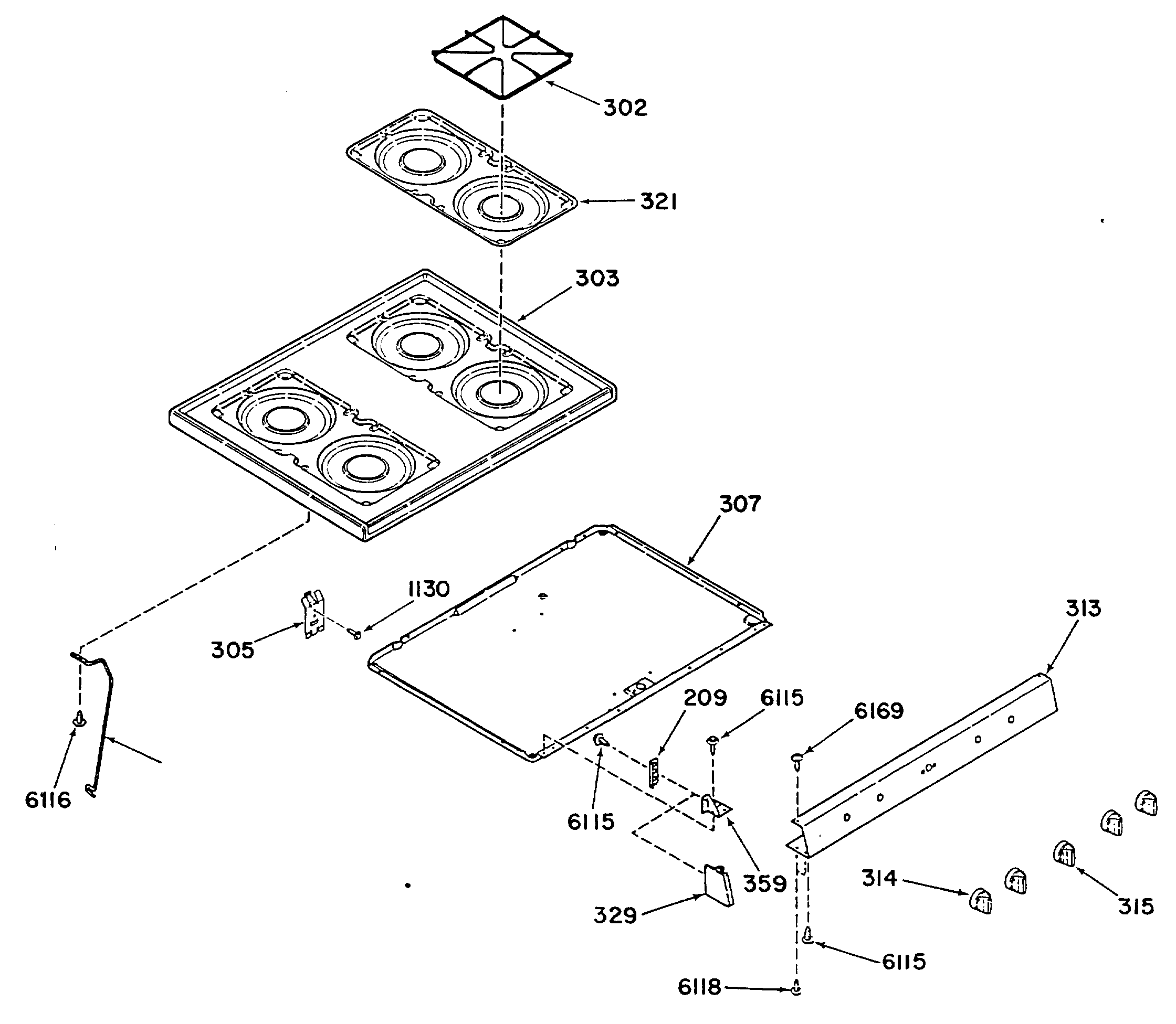
L2B235GEL0 1admin2025-04-26T10:18:20+00:00L2B235GEL0 1 ProductsPositionProduct209GEN WB02X9000302GRATE303MAIN TOP-ALMOND303MAIN TOP-WHITE305GEN WB14X0147307GEN WB63X0336313MANIFOLD PANEL314GAS VALVE KNOB 90 DEGREE315THERMOSTAT KNOB321AERATION PAN329MANIF PNL END CAP-LT-BLK329MANIF PNL END CAP-RT-BLK359MANIF PANEL BRACKET-RT359MANIF PANEL BRACKET-LT6115WB1M1 GE Oven Screw6116WB1X1116 GE Oven Screw6118WB1X1118 GE Oven Screw 6-32T6169SCREW