L2B335GEL0 1
Products
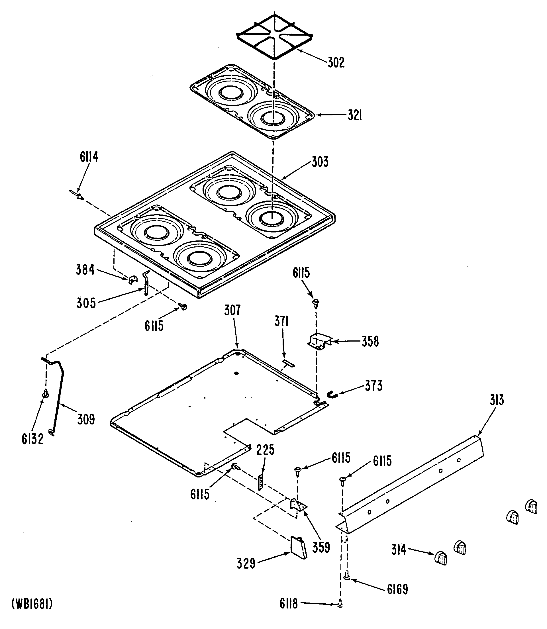
| Position | Product |
|---|---|
| 225 | GEN WB02X9000 |
| 302 | GRATE |
| 303 | MAIN TOP-ALMOND |
| 303 | MAIN TOP-WHITE |
| 305 | MAINTOP HINGE-LT |
| 305 | MAINTOP HINGE-RT |
| 307 | GEN WB63X0411 |
| 309 | SUPPORT ROD |
| 313 | GEN WB07X1735 |
| 314 | VALVE KNOB |
| 321 | AERATION PAN |
| 329 | GEN WB07X1734 |
| 329 | GEN WB07X1733 |
| 358 | GEN WB02X9723 |
| 359 | MANIF PANEL BRACKET-RT |
| 359 | MANIF PANEL BRACKET-LT |
| 371 | GEN WB02X9724 |
| 373 | UNKNOWN |
| 384 | MAINTOP HINGE BRACKET |
| 6114 | POP RIVET |
| 6115 | WB1M1 GE Oven Screw |
| 6118 | WB1X1118 GE Oven Screw 6-32T |
| 6132 | GEN WB01X1132 |
| 6169 | SCREW |