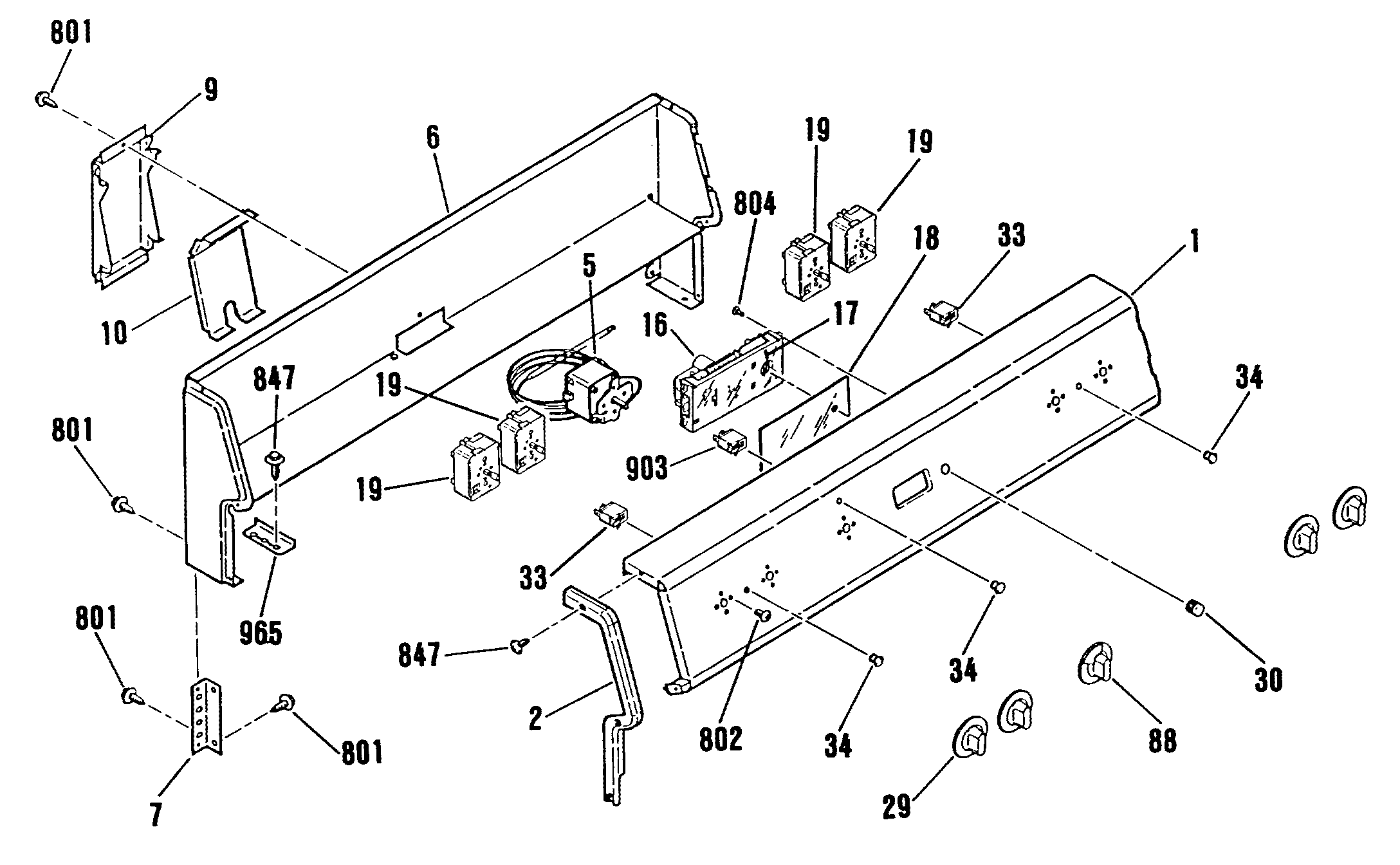
| 1 | GEN WB07X1749 |
| 2 | BKGD END CAP-RT |
| 2 | BKGD END CAP-LT |
| 5 | OVEN THERMOSTAT |
| 6 | GEN WB37K5007 |
| 7 | GEN WB07X1647 |
| 9 | GEN WB02X9415 |
| 10 | COVER RACEWAY |
| 16 | CLOCK/OVEN CONTROL& LENS |
| 17 | *LENS-CLOCK |
| 18 | GEN WB02X9694 |
| 19 | WB23M24 GE Stove Range Infinite Switch 1500W Cooktop Surface Burner |
| 19 | WB23M23 GE Oven Burner Switch 2000W |
| 29 | GEN WB03X0812 |
| 30 | CLOCK KNOB |
| 33 | WB25T10039 GE Oven Light Indicator |
| 34 | GEN WB25X0098 |
| 88 | GEN WB03X0789 |
| 801 | WB1M1 GE Oven Screw |
| 802 | GEN WB01X1265 |
| 804 | WB1X681 GE Oven Screw |
| 847 | WB1X1118 GE Oven Screw 6-32T |
| 903 | WB25T10040 GE Oven Light Indicator |
| 965 | GEN WB02X9000 |
| 999 | GEN 79-4047 |
| 999 | GEN WB18K5177 |
| 999 | GEN 31-0724A |
| 999 | GEN WB18M0033 |
| 999 | GEN 31-0928 |