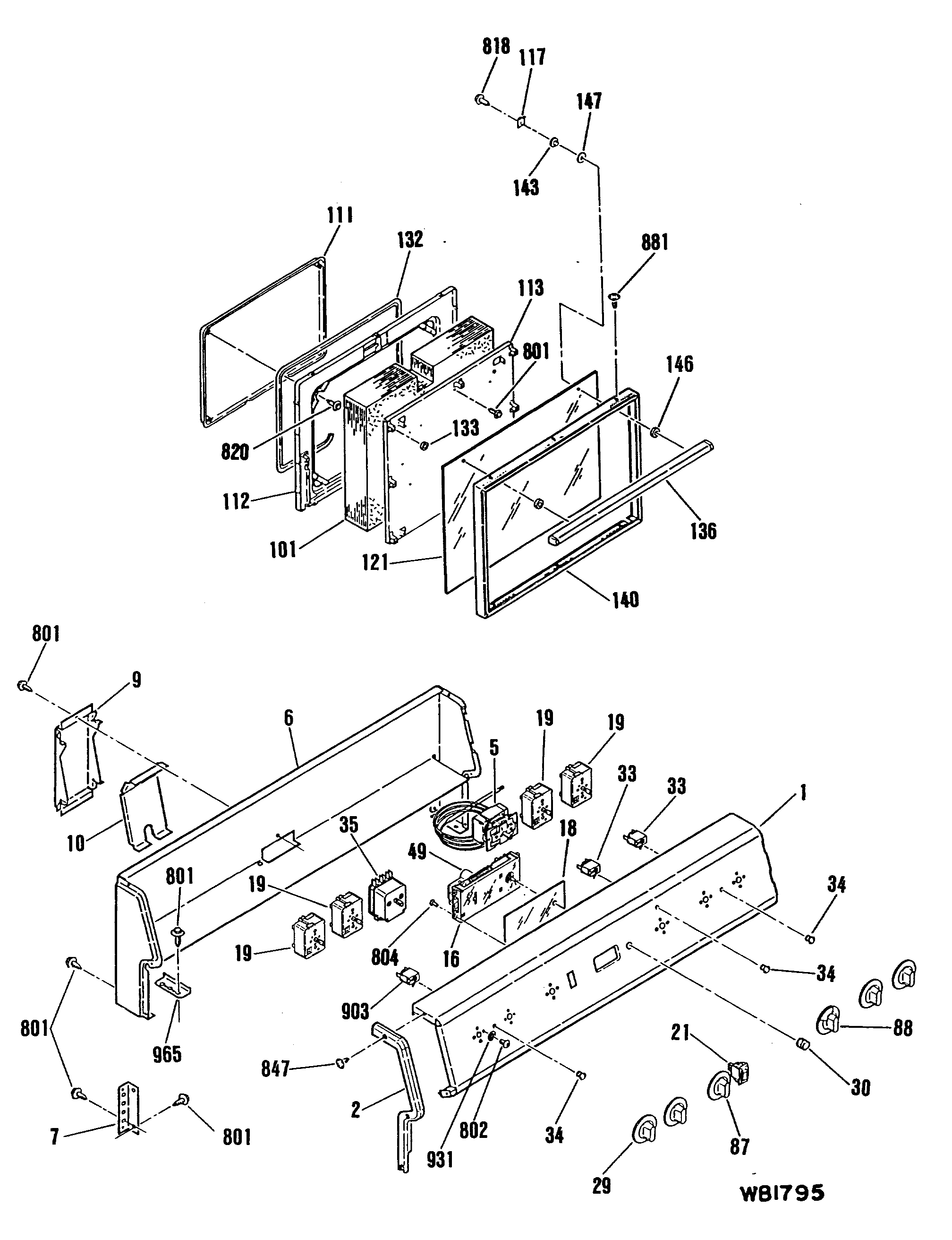
| 1 | GEN WB07X1728 |
| 2 | BKGD END CAP-LT |
| 2 | BKGD END CAP-RT |
| 5 | GEN WB21X0488 |
| 6 | GEN WB37K5007 |
| 7 | GEN WB07X1647 |
| 9 | GEN WB02X9415 |
| 10 | COVER RACEWAY |
| 16 | GEN WB19X0257 |
| 18 | GEN WB02X9694 |
| 19 | WB23M24 GE Stove Range Infinite Switch 1500W Cooktop Surface Burner |
| 19 | WB23M23 GE Oven Burner Switch 2000W |
| 21 | ROCKER SWITCH-GRAY |
| 29 | GEN WB03X0812 |
| 30 | CLOCK KNOB |
| 33 | WB25T10040 GE Oven Light Indicator |
| 34 | GEN WB25X0098 |
| 35 | GEN WB19X0260 |
| 49 | GEN WB11X0008 |
| 87 | GEN WB03X0813 |
| 88 | GEN WB03X0811 |
| 101 | OV DOOR INSULATION |
| 111 | UNKNOWN |
| 112 | UNKNOWN |
| 113 | UNKNOWN |
| 117 | OV DR GLASS RETAINER |
| 121 | OV DOOR OUTER GLASS |
| 132 | WB2X9373 GE Oven Gasket |
| 133 | FELT WASHER |
| 140 | GEN WB07X1729 |
| 143 | UNKNOWN |
| 146 | DOOR HANDLE SPACER-BLACK |
| 147 | FIBER WASHER |
| 801 | WB1M1 GE Oven Screw |
| 802 | GEN WB01X1265 |
| 804 | WB1X681 GE Oven Screw |
| 818 | GEN WB01X1250 |
| 820 | WB1X1424D GE Oven Screw Package |
| 822 | GEN WB01X1292 |
| 847 | WB1X1118 GE Oven Screw 6-32T |
| 881 | SCREW |
| 903 | WB25T10039 GE Oven Light Indicator |
| 931 | GEN WB01M0006 |
| 965 | GEN WB02X9000 |
| 974 | GEN WB01X1264 |
| 999 | GEN 31-0928 |
| 999 | GEN WB18M0033 |
| 999 | GEN WB18M0037 |
| 999 | GEN 31-13019 |
| 999 | GEN 79-4042 |
| 999 | GEN WB18K5108 |