L3B325G0L0 2
Products
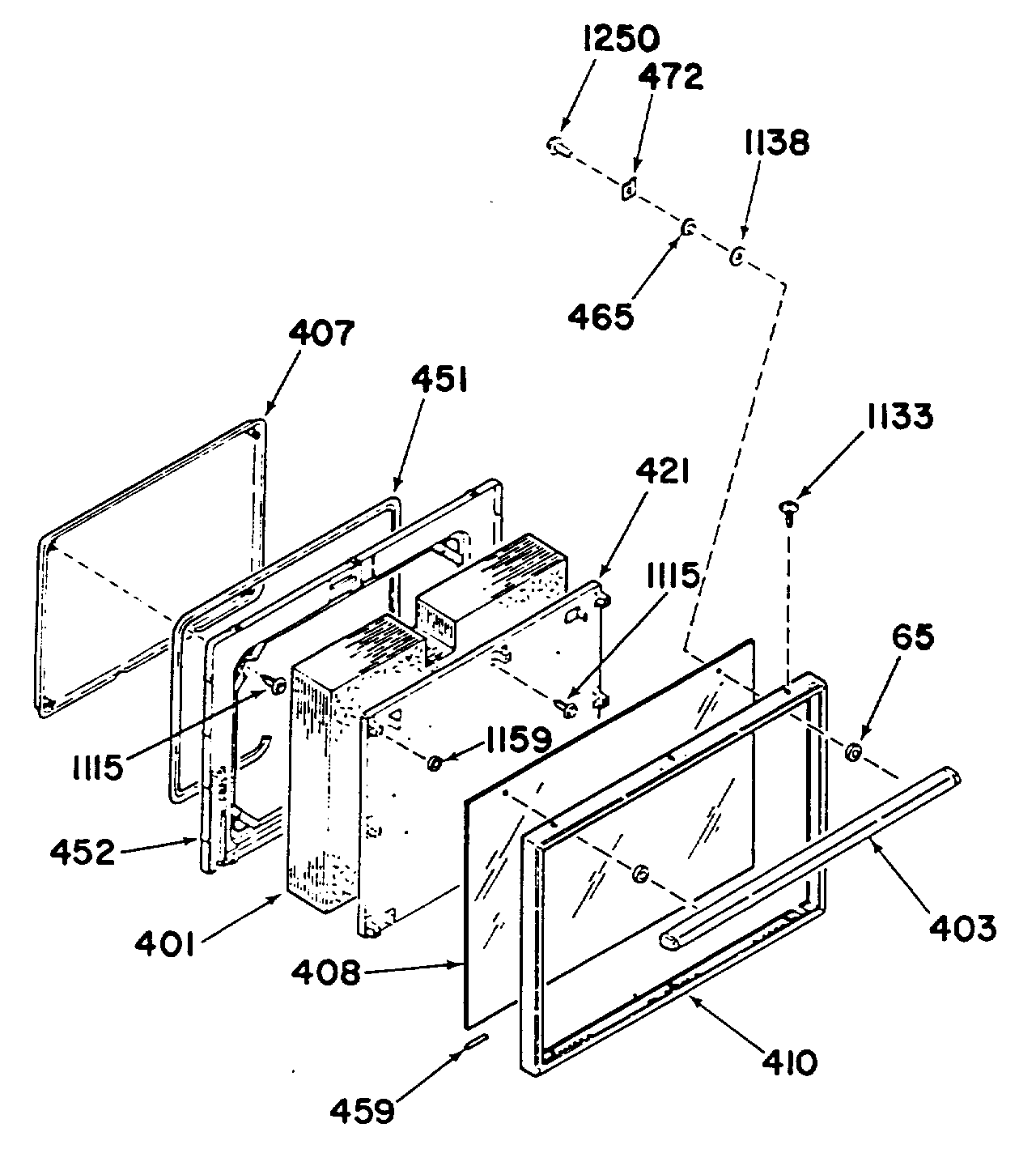
| Position | Product |
|---|---|
| 65 | DOOR HANDLE SPACER-BLACK |
| 401 | GEN WB02X9411 |
| 403 | OV DOOR HANDLE |
| 407 | UNKNOWN |
| 408 | GEN WB55X1886 |
| 410 | GEN WB07X1729 |
| 421 | UNKNOWN |
| 451 | WB2X9373 GE Oven Gasket |
| 452 | UNKNOWN |
| 459 | GEN WB02X9036 |
| 465 | UNKNOWN |
| 472 | OV DR GLASS RETAINER |
| 1115 | WB1M1 GE Oven Screw |
| 1133 | WB1K5191 GE Oven Zinc FL Screw |
| 1138 | FIBER WASHER |
| 1159 | FELT WASHER |
| 1250 | GEN WB01X1250 |