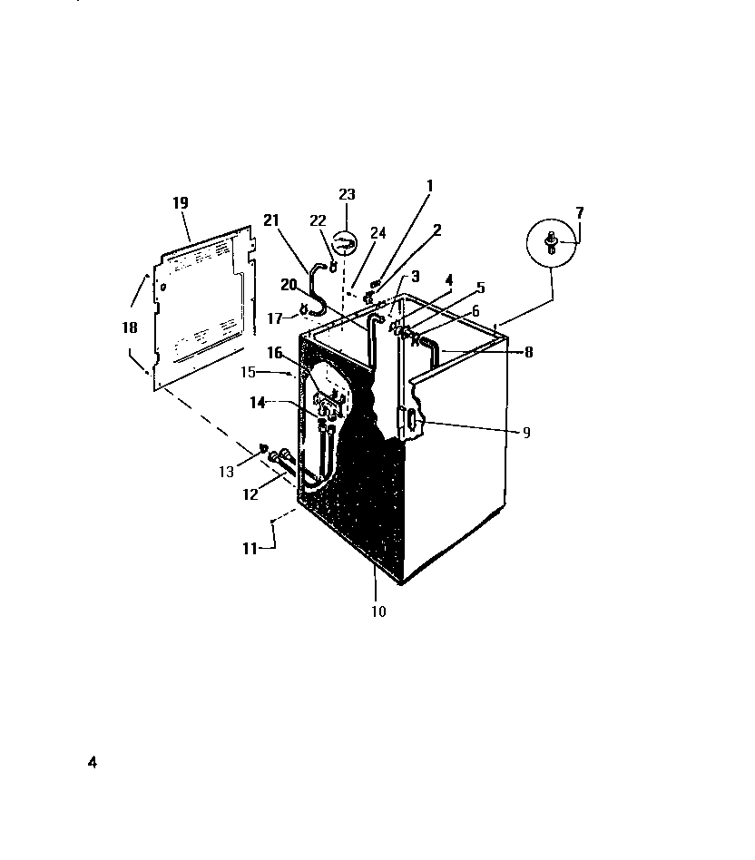
LA271EXW1 04 – CABINET, HOSESadmin2025-04-26T11:04:10+00:00LA271EXW1 04 – CABINET, HOSES ProductsPositionProduct1WCI Q174712WCI Q174614CLAMP5WCI Q6044016WCI Q5011507WCI Q1524318WCI Q1583139WCI Q14941310BODY - WHITE11WCI Q42870112WCI Q60092113WCI Q1980114WCI Q41250114AWASHERS (PKG OF 12) (NON-ILLUSTRATED)16WCI Q17144118ASCREWS (PKG OF 12) (NON-ILLUSTRATED)18SCREW (4)19WCI Q17131220WCI Q16534721WCI Q15617322WCI C50335623WCI Q50117124WCI Q505564