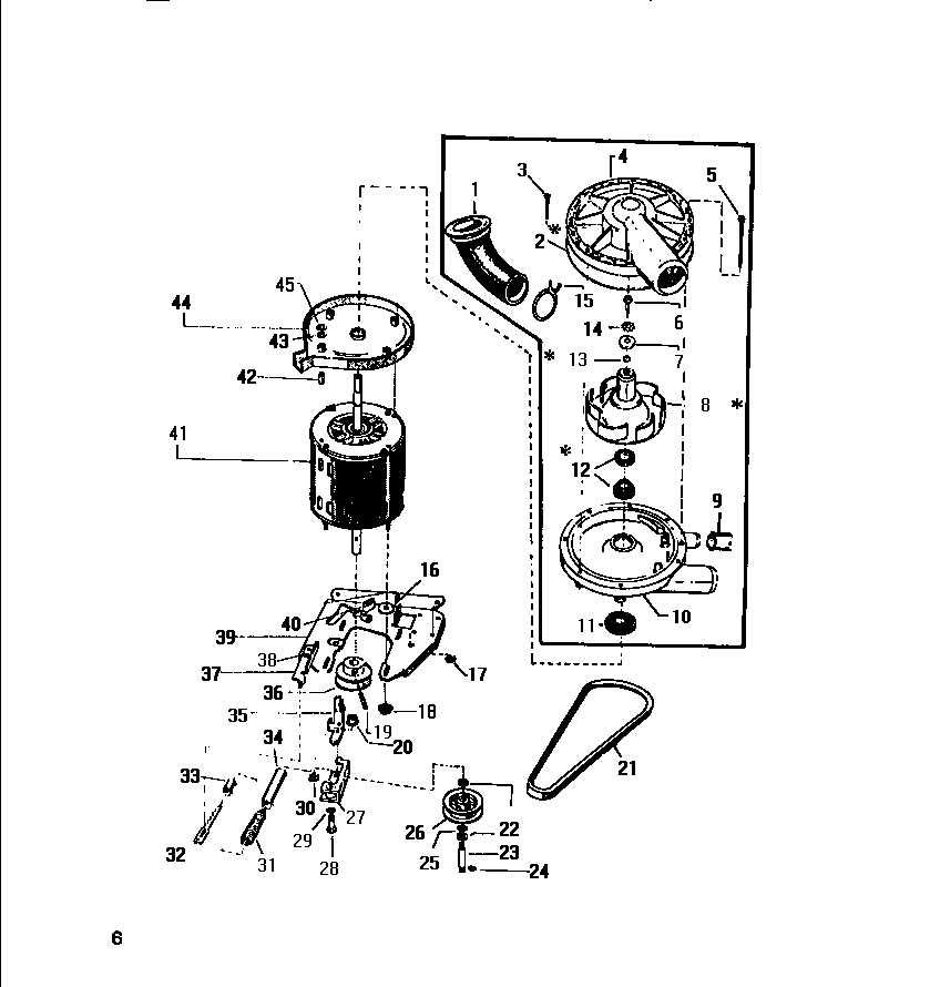
LA271EXW2 06 – PULLEY, BELTSadmin2025-04-26T11:03:27+00:00LA271EXW2 06 – PULLEY, BELTS ProductsPositionProduct*91360WCI Q1981631WCI Q1821812GASKET (INCLUDED IN IMPELLER KIT Q198163)3SCREW (7)4WCI Q6126315SCREW, TO MOTOR6WCI Q5042047WCI Q695618IMPELLER (INCLUDED IN IMPELLER KIT Q198163)9WCI Q1670110WCI Q61264111WCI Q6954312SEAL, KIT (INCLUDED IN IMPELLER KIT Q198163)13O-RING (INCLUDED IN IMPELLER KIT Q198163)14WCI Q50037415WCI Q50115416WCI Q44002517WCI Q50083118NUT19PIN20WCI Q50108421WCI Q18162522WCI Q114760123WCI Q12748424WCI 146717325WCI Q40900426WCI Q14308127WCI Q1672128WCI Q12748529WCI Q50003630WCI Q50108331WCI Q6987832WCI Q60006533WCI Q18118134WCI Q1664135WCI Q60006636WCI Q14352337WCI Q60006438WCI Q50128339WCI Q14638240WCI Q12775341MOTOR, MAIN42WCI Q50278843ASPACER (1)43SPACER (4)44WCI Q16426145WCI Q502404